Zurück zu
>
Roth / TORO
>
Aufsitzmäher
>
Traktor
>
12-38 XL
>
391/71202
>
5900001
>
Verstellung
Ersatzteillisten für Toro Roth / TORO Verstellung
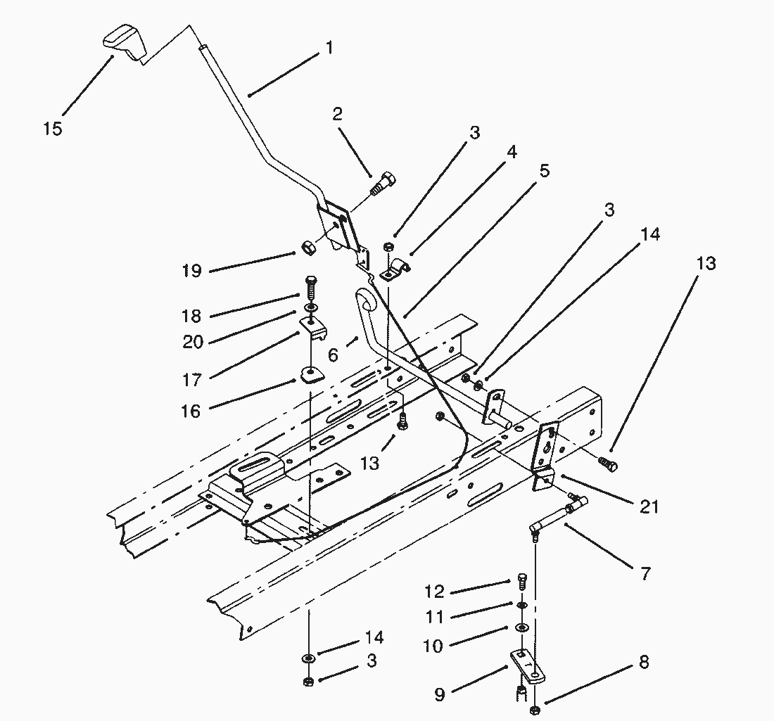
Pos.
Bezeichnung
Ersatzteilnummer
1
Lever-Shift
88-5300
2
Bolzen
5-4015
3
MUTTER
3296-29
4
Klammer
88-4810
5
Kabel
55-9321
6
Schaltgegstenge
92-5796
7
Befestigungsstrebe
88-5530
8
Stopmutter
3296-3
9
Schalthebel
88-5340
10
Buchse
7-5461
11
Federring
3253-3
12
Capscrew Hex. Hd.
329-23
13
Schraube
322-3
14
Scheibe
3256-23
15
Knob-Engage Lever
62-1292
16
Seilfuehrung
84-5610
17
Seilfuehrung
88-5930
18
Schraube
3230-3
19
Mutter
3296-39
20
Scheibe
3256-25
21
Lever-Shift Pivot
92-5794
Gebrauchsanweisungen
Toro
Roth / TORO
Aufsitzmäher
Traktor
264-6
246 HE
244-5
212-H
212-5
17-44 HXLE
16-44 HXL
16-38 HXL
16-38 XLE
15-44 HXL
15-38 HXL
14-38 HXL
14-38 XL
13-38 HXL
13-38 XL
13-32 XLE
12-38 HXL
12-38 XL
391/71202
5900001
Peerlesss Getriebeachse Modell-Nr. 915-020 (Fortsetzung)
Peerlesss Getriebeachse Modell-Nr. 915-020
Motor B&S (Modell 286707-0453-01)
Kabel & Abdeckung (38 Schneideinheit) Cable & Cover Assy. (38 Cutting Unit)
Bremse (38 Schneideinheit) Brake Assy. (38 Cutting Unit)
Gehäuse & Spindel (38 Schneideinheit) Housing & Spindle Assy. (38 Cutting Unit)
Schnitthöhe
Getriebeachse
Elektrik
Verstellung
Kupplung
Motor
Lenkung
Vorderachse
Sitz
Haube
Rahmen
4900001
3900001
12-32 XL
264 H
265 H
267 H
268 H
270 H
520 xi
520 Lxi
523 Dxi
Rider
Mähwerke
Zubehör
Handgeräte
Robin
Impressum
(C) by motoruf