Zurück zu
>
Roth / TORO
>
Aufsitzmäher
>
Traktor
>
12-38 XL
>
391/71202
>
5900001
>
Kupplung
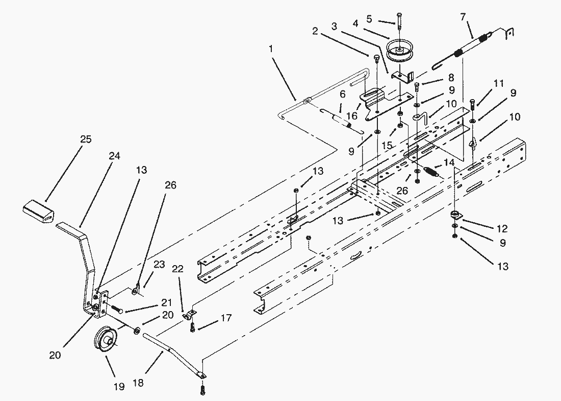
Ersatzteillisten für Toro Roth / TORO Kupplung
Pos.
Bezeichnung
Ersatzteilnummer
1
Kupplungs-Gestaenge
88-5270
2
Schraube
37-8770
3
Riemenfuehrung
88-5560
4
Pulley-Flat Idler
88-5680
5
Schraube
323-11
6
Feder
27-8890
7
Bremsfeder
88-6140
8
Schraube
322-5
9
Scheibe
5-4460
10
Riemenfuehrung
88-5460
11
Schraube
322-7
12
Seilfuehrung
84-5610
13
MUTTER
3296-29
14
Spring-Extension
88-6330
15
Mutter
3296-59
16
Spannarm
88-6070
17
Schraube
322-3
18
Gestaenge
88-5500
19
Pulley-Cable
88-4700
20
Scheibe
3256-26
21
Schraube
3230-3
22
Klammer
88-4810
23
Splint
3272-10
24
Pedal-Clutch/Brake
88-5000
25
Pedalgummi
65-2920
26
Scheibe
3256-23
Gebrauchsanweisungen
Toro
Roth / TORO
Aufsitzmäher
Traktor
264-6
246 HE
244-5
212-H
212-5
17-44 HXLE
16-44 HXL
16-38 HXL
16-38 XLE
15-44 HXL
15-38 HXL
14-38 HXL
14-38 XL
13-38 HXL
13-38 XL
13-32 XLE
12-38 HXL
12-38 XL
391/71202
5900001
Peerlesss Getriebeachse Modell-Nr. 915-020 (Fortsetzung)
Peerlesss Getriebeachse Modell-Nr. 915-020
Motor B&S (Modell 286707-0453-01)
Kabel & Abdeckung (38 Schneideinheit) Cable & Cover Assy. (38 Cutting Unit)
Bremse (38 Schneideinheit) Brake Assy. (38 Cutting Unit)
Gehäuse & Spindel (38 Schneideinheit) Housing & Spindle Assy. (38 Cutting Unit)
Schnitthöhe
Getriebeachse
Elektrik
Verstellung
Kupplung
Motor
Lenkung
Vorderachse
Sitz
Haube
Rahmen
4900001
3900001
12-32 XL
264 H
265 H
267 H
268 H
270 H
520 xi
520 Lxi
523 Dxi
Rider
Mähwerke
Zubehör
Handgeräte
Robin
Impressum
(C) by motoruf