Zurück zu
>
Roth / TORO
>
Aufsitzmäher
>
Traktor
>
246 HE
>
309/72101
>
3900001
>
Bremse & Hydraulik-Gestänge
Ersatzteillisten für Toro Roth / TORO Bremse & Hydraulik-Gestänge
Pos.
Bezeichnung
Ersatzteilnummer
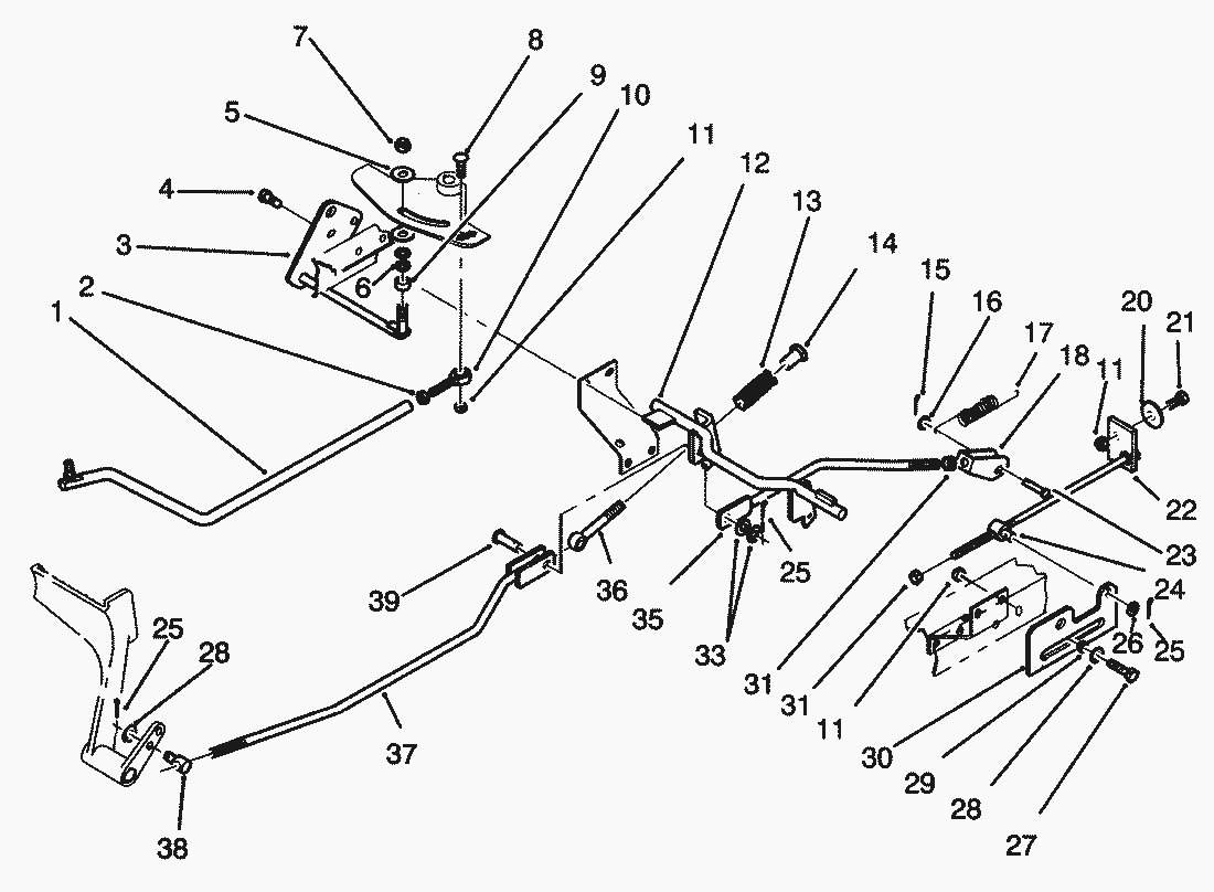
1
Lenkgestaenge
78-6150
2
Mutter
3220-11
3
Guide-Weldment, Rod
78-6170
4
S.W. Form Screw
926720
5
Washer-Friction
100305
6
Washer-Spring Disc
100365
7
Mutter
3296-39
8
Bolt-Carriage
9002159
9
Buechse
111044
10
Ball End
115575
11
MUTTER
3296-29
12
Shaft
78-6100
13
Druckfeder
79-0440
14
Retainer
115559
15
Stift
3272-7
16
Scheibe
3256-24
17
Zugfeder
79-4970
18
Clevis
116047
20
Scheibe (5)
2844
21
Schraube
322-5
22
Bolzen
78-6270
23
Splint
932948
24
Trunnion
104627
25
Splint
3272-6
26
Scheibe
3256-23
27
Schraube
322-6
28
Scheibe
3256-23
29
Spacer
101389
30
Plate
78-6250
31
Mutter
3218-3
33
Washer
3256-4
35
Rod-Brake
79-2430
36
Bolt-Eye
115558
37
Rod-Brake
78-6071
38
Trunnion
115554
39
Pin-Clevis
932966
Gebrauchsanweisungen
Toro
Roth / TORO
Aufsitzmäher
Traktor
264-6
246 HE
309/72101
3900001
Elektro-Schaltplan
Getriebe (Eaton Modell 751-045)
Motor (TORO Power Plus)
Kotflügel & Sitz
Hydrauliktank
Hinterrad & Getriebe
Bremse & Hydraulik-Gestänge
Bremspedal
Spannrolle & Pedalwelle
Aushubgestänge
Armaturenbrett
Lenkwelle & Anzeigen
Lenkrad & Konsole
Kraftstofftank & Lenkung Halter
Kupplung 92-1686
Batteriebefestigung
Motor & Kupplung
Vorderachse
Hauptrahmen
Haube
244-5
212-H
212-5
17-44 HXLE
16-44 HXL
16-38 HXL
16-38 XLE
15-44 HXL
15-38 HXL
14-38 HXL
14-38 XL
13-38 HXL
13-38 XL
13-32 XLE
12-38 HXL
12-38 XL
12-32 XL
264 H
265 H
267 H
268 H
270 H
520 xi
520 Lxi
523 Dxi
Rider
Mähwerke
Zubehör
Handgeräte
Robin
Impressum
(C) by motoruf