Zurück zu
motoruf
Warenkorb

Ersatzteillisten für Toro Roth / TORO Vergaser Nr. 632552




Ersatzteilliste


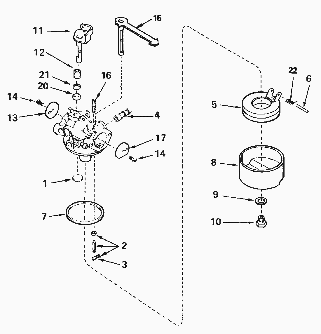
Pos.BezeichnungErsatzteilnummer
1Stopfen631027
2Schwimmerventil631021
3Klemmfeder631022
4Anschlussstueck632164
5Schwimmer632019
6Haltestift631024
7Dichtring631028
8Schwimmergehaeuse631700
9Dichtung631334
10Mutter632385
11Shaft & Lever Assy., Throttle632130
12Feder632169
13Shutter-Throttle631621
14Schraube650506
15Chokwelle631553
16Druckfeder630735
17Starterklappe631815
20Dichtring631183
21Scheibe631184
22Feder-Schwimmer632386
Gebrauchsanweisungen
Toro
Impressum
(C) by motoruf