Zurück zu
>
Roth / TORO
>
Aufsitzmäher
>
Traktor
>
264-6
>
501/72062
>
4900001
>
Rahmen
Ersatzteillisten für Toro Roth / TORO Rahmen
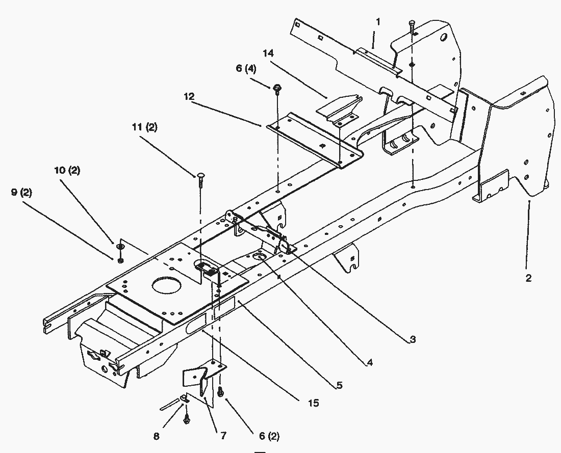
Pos.
Bezeichnung
Ersatzteilnummer
1
Support-Fender
92-6674-03
2
Frame
92-6660-03
3
Kabelband
614249
4
Lenkungshalterung
92-6992-03
5
Decal-Belt Install (Only On: 72042, 72043, 72083)
79-6730
5
Decal-Belt Installations
79-7020
6
Schraube
32144-14
7
Anschlag
78-2491-03
8
Klemme
8830
9
MUTTER
3296-29
10
Scheibe
3256-23
11
Schraube
3230-2
12
Bracket-ldler
92-6868-03
14
Bracket-HOC
92-6964-03
15
Decal-Attach-A-Matic
92-8747
Gebrauchsanweisungen
Toro
Roth / TORO
Aufsitzmäher
Traktor
264-6
501/72062
4900001
Kopf, Ventil, Entlüftung
Auspuff
Lufteinlaß/Filter
Motor Betätigungen
Kraftstoffsystem
Starteinrichtung
Gebläsegehäuse & Leitbleche
Zündung, Elektrik
Zylinderkopf, Ventil, Entlüftung
Ölwanne, Schmierung
Kurbelgehäuse
Kurbelwelle
Kupplung & Bremsgetriebe
Hinterrad
Rahmen
Aushubhebel & Schnitthöhe
Haubenhalter & Hitzeschutz
Kotflügel & Fußauflage
Kraftstofftank & Hydrauliktank
Sitz
Vorderachse
untere Lenkung
Lenkrad mit Verstellung
Armaturenbrett
Haube mit Grill
Hydraulik Antrieb
Gear Antrieb
Zweizylinder Motor, Auspuff, und Zapfwelle
Einzylinder Motor, Auspuff, und Zapfwelle
Kupplung 92-6885
Batterie
Hydraulikbremse
Hydraulikbetätigung
Hydraulik-Getriebeachse
Getriebeachse
Getriebe-Schaltgestänge
Getriebeachse Peerless 820-024
Getriebeachs-Gehäuse
Mittleres Gehäuse
Pumpenwelle
Motorwelle
Wählhebel
Bypass
Dämpfer
Neutralzentrierung
Bremssicherung
Differentialgetriebe
Ritzel
Getriebewelle
Bremse
5900001
5900228
6900001
246 HE
244-5
212-H
212-5
17-44 HXLE
16-44 HXL
16-38 HXL
16-38 XLE
15-44 HXL
15-38 HXL
14-38 HXL
14-38 XL
13-38 HXL
13-38 XL
13-32 XLE
12-38 HXL
12-38 XL
12-32 XL
264 H
265 H
267 H
268 H
270 H
520 xi
520 Lxi
523 Dxi
Rider
Mähwerke
Zubehör
Handgeräte
Robin
Impressum
(C) by motoruf