Zurück zu
motoruf
Warenkorb

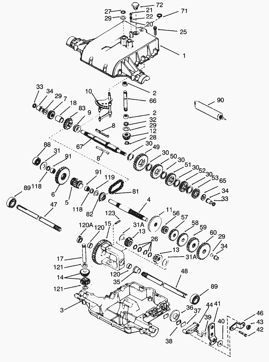
Ersatzteillisten für Toro Roth / TORO Getriebeachse (Peerlesss Modell-Nr. 801-062)




Pos.BezeichnungErsatzteilnummer
Axle (13-1/4 Long) (Incl. No. 26) 47 43 5_961030 1 72060 Axle (13-1/4 Long) (Incl. No. 26)774658
Axle (15-1/8 Long) (Incl. No. 26) 48 44 5_961030 1 72060 Axle (15-1/8 Long) (Incl. No. 26)774657
Ersatzteilliste


Pos.BezeichnungErsatzteilnummer
1Deckel772082
2Lager780122
3Case, Transaxle770071A
4Welle776204
5Pinion, Output778138
6Zahnrad778139
7Gear, Spur (15 teeth)778136
8Key792089A
9Collar, Shift784266
10Schaltwelle M.Segment784290
11Gear, Bevel (42 teeth)778154
12Kegelrad778153
13Gear-Bevel778221
14Gear-Bevel Pinion778068
15Zahnrad778175
17Stift786034
18Spacer786074
20Kugel792077
21Schraube792078
22Feder792079
25Schraube792073
26Seegerring792125
27Sicherungsring792035
28Sicherungsring788040
29Scheibe780072
30Scheibe780108
31Washer, Flat780113
31Scheibe780001
32O-Ring788057
33Wellendichtung788051
34Bushing, Flanged780105A
35Bushing-Flanged780118A
36Bremsscheibe790003
37Platte790007
38Pad, Brake790006
39Stift786026
40Scheibe792076
41Bremshebel790013
42Schraube792073
43Mutter792075
44Halter790025
46Halter786086
49Gear, Spur (37 teeth)778146A
50Gear, Spur (30 teeth)778124A
51Gear, Spur (25 teeth)778123A
52Gear, Spur (22 teeth)778122A
53Gear-Spur (20 teeth)778121A
56Zahnrad778145
57Gear, Spur (20 teeth)778126A
58Gear, Spur (25 teeth)778127A
59Gear, Spur (28 teeth)778128A
60Gear-Spur (30 teeth)778129A
65Scheibe780109
66Welle776135
67Shaft, Brake776184A
71Dichtring788069
72Plug, Threaded792074
81Chain-Roller786062A
82Kettenrad786061
83Sprocket (14 teeth)786060
88Lager780121
89Kugellager780119
90Grease (32 oz. bottle)788067B
91Nadellager780112
118O-Ring788053
119Scheibe780114
120Buechse780064
120Buechse780120
121Buechse780065
123Spannstift792040
Gebrauchsanweisungen
Toro
Impressum
(C) by motoruf