Zurück zu
>
Roth / TORO
>
Aufsitzmäher
>
Traktor
>
16-38 XLE
>
358/71226
>
220010001
>
Antriebskupplung
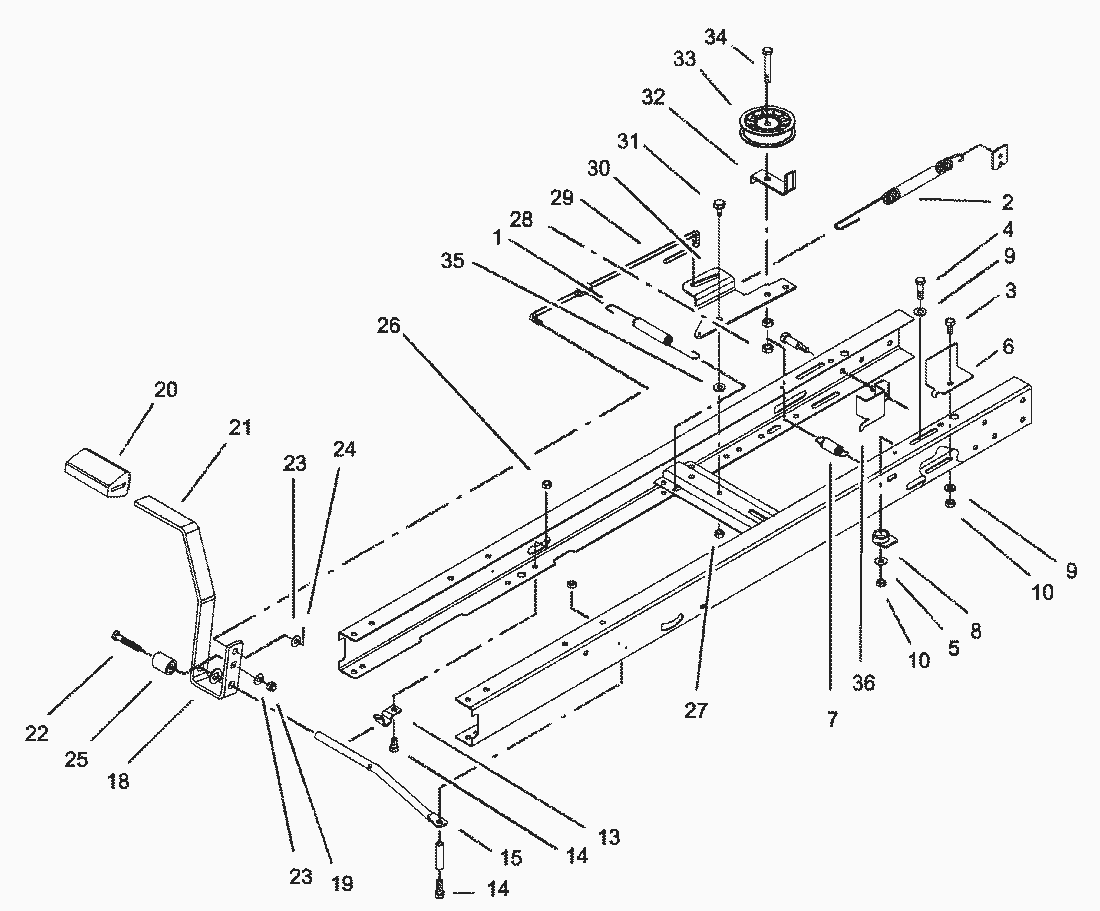
Ersatzteillisten für Toro Roth / TORO Antriebskupplung
Pos.
Bezeichnung
Ersatzteilnummer
1
Feder
27-8890
2
Bremsfeder
94-4294
3
Schraube
322-3
4
Schraube
322-6
5
Scheibe
5-4460
6
Riemenfuehrung
94-5433
7
Spring-Extension
88-6330
8
Seilfuehrung
84-5610
9
Scheibe
3256-23
10
MUTTER
3296-29
13
Klammer
88-4810
14
Schraube
322-3
15
Gestaenge
88-5500
18
Scheibe
3256-26
19
Mutter
3296-47
20
Pedalgummi
65-2920
21
Pedal
88-5000-03
22
Schraube
322-9
23
Scheibe
3256-23
24
Splint
3272-10
25
Spacer-Switch
99-6836
26
MUTTER
3296-29
27
MUTTER
3296-29
28
Mutter
3296-59
29
Kupplungs-Gestaenge
88-5270
30
Spannarm
88-6070
31
Schraube
37-8770
32
Riemenfuehrung
88-5560
33
Pulley-Idler
104-4160
34
Schraube
323-10
35
Scheibe
5-4460
36
Riemenfuehrung
94-4926
Gebrauchsanweisungen
Toro
Roth / TORO
Aufsitzmäher
Traktor
264-6
246 HE
244-5
212-H
212-5
17-44 HXLE
16-44 HXL
16-38 HXL
16-38 XLE
358/71226
220010001
Vergaser Reparatur-Satz (B&S Modell 286H77-0121-E1)
Dichtungssatz (B&S Modell 286H77-0121-E1)
Starter (B&S Modell 286H77-0121-E1)
Gebläsegehäuse (B&S Modell 286H77-0121-E1)
Regler (B&S Modell 286H77-0121-E1)
Luftfilter (B&S Modell 286H77-0121-E1)
Vergaser (B&S Modell 286H77-0121-E1)
Ölfilter, Rohr und Pumpe (B&S Modell 286H77-0121-E1)
Kurbelgehäuse (B&S Modell 286H77-0121-E1)
Kurbelwelle (B&S Modell 286H77-0121-E1)
Zylinderkopf (B&S Modell 286H77-0121-E1)
Zylinder (B&S Modell 286H77-0121-E1)
Peerlesss Getriebeachse Modell MST 205-509
Elektrik
Schnitthöhe
38 Mähwerk-Schaltkomponenten 38in Deck EnGagement Assy.
38 Mähwerk; Messer, Antrieb und Bremse 38in Deck Blade Drive and Brake Assy.
38 Mähwerk (Fortsetzung) 38in Deck Assy. (Cont.)
38 Mähwerk 38in Deck Assy.
5-Gang Getriebeachse
Verstellung
Antriebskupplung
Motor
Lenkung
Lenkung
Lenkung (Fortsetzung)
Heckteil & Sitz
Rahmen & Rahmen
Haube & Säule
210000001
200000001
15-44 HXL
15-38 HXL
14-38 HXL
14-38 XL
13-38 HXL
13-38 XL
13-32 XLE
12-38 HXL
12-38 XL
12-32 XL
264 H
265 H
267 H
268 H
270 H
520 xi
520 Lxi
523 Dxi
Rider
Mähwerke
Zubehör
Handgeräte
Robin
Impressum
(C) by motoruf