MTD GE 46-5 11A-J18R677 (2013) Messer, Messeraufnahme Ersatzteile
Messer, Messeraufnahme 11A-J18R677 (2013)

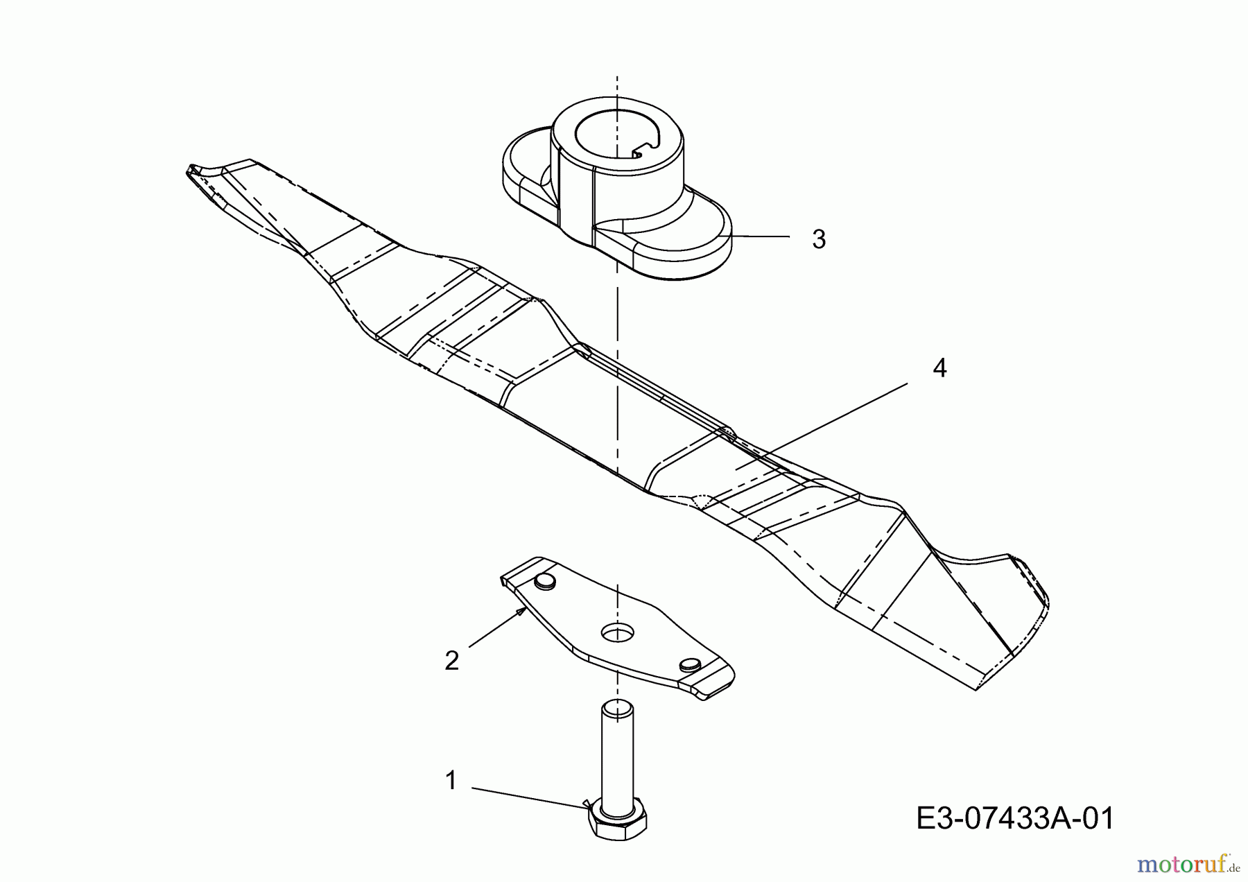
Hier finden Sie die Ersatzteilzeichnung für MTD Motormäher GE 46-5 11A-J18R677 (2013) Messer, Messeraufnahme. Wählen Sie das benötigte Ersatzteil aus der Ersatzteilliste Ihres MTD Gerätes aus und bestellen Sie einfach online. Viele MTD Ersatzteile halten wir ständig in unserem Lager für Sie bereit.
| BildNr | Artikel Nummer | Bezeichnung | |
| 1 | ![]() | 710-1044 | SKT-SCHR.:3/8-24:1.50:GR8:SPEC |
| 2 | ![]() | 736-0524B | MESSERHALTER:FEDERSTAHL |
| 3 | ![]() | 748-04096 | MESSERMITNEHMER:25MMX1.19 |
| 4 | ![]() | 742-0738 | MESSER 18" 46CM |







