Wolf-Garten Power Edition 40 H 4011005 Serie A (2001) Messer, Messeraufnahme, Motor Ersatzteile
Messer, Messeraufnahme, Motor 4011005 Serie A (2001)

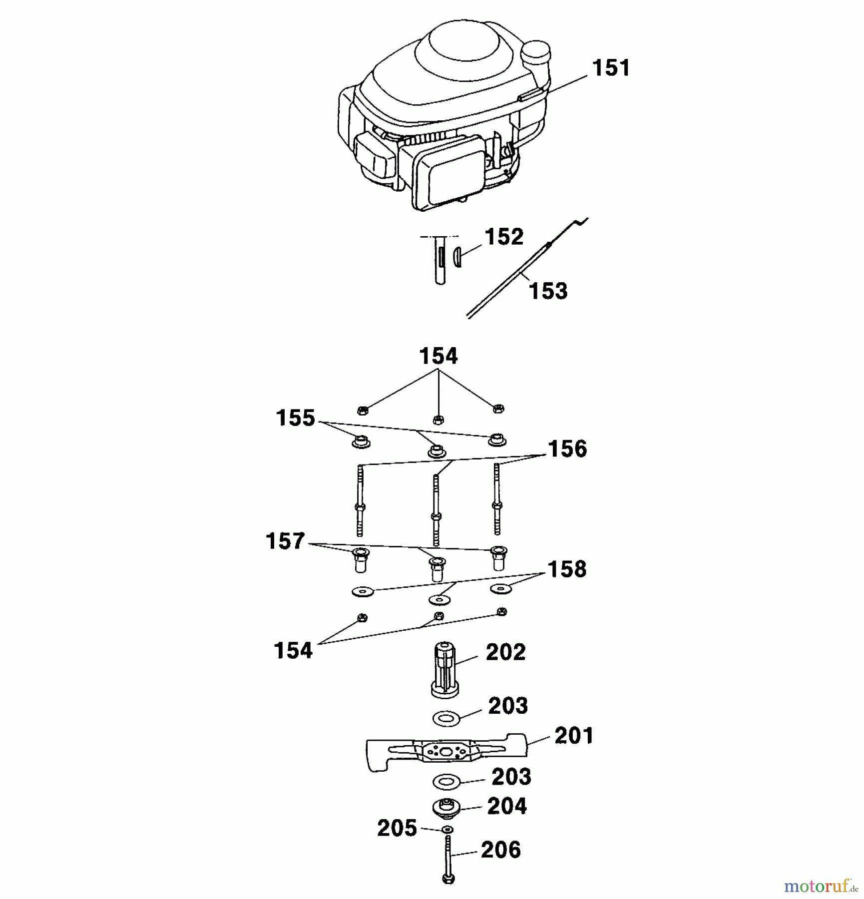
Hier finden Sie die Ersatzteilzeichnung für Wolf-Garten Motormäher Power Edition 40 H 4011005 Serie A (2001) Messer, Messeraufnahme, Motor. Wählen Sie das benötigte Ersatzteil aus der Ersatzteilliste Ihres Wolf-Garten Gerätes aus und bestellen Sie einfach online. Viele Wolf-Garten Ersatzteile halten wir ständig in unserem Lager für Sie bereit.
Häufig benötigte Wolf-Garten Power Edition 40 H 4011005 Serie A (2001) Messer, Messeraufnahme, Motor Ersatzteile

Artikelnummer: WL6450403
Suche nach: 6450403
Hersteller: Wolf
Wolf-Garten Ersatzteil Messer, Messeraufnahme, Motor
Suche nach: 6450403
Hersteller: Wolf
Wolf-Garten Ersatzteil Messer, Messeraufnahme, Motor
2.60 €
für EU incl. MwSt., zzgl. Versand


Qualitätsmanagement
Informieren Sie uns, wenn Sie einen Fehler gefunden haben.


