Wolf-Garten WGI 40 E 4028007 Serie A (2002) Abdeckhaube Motor, Messer, Motor Ersatzteile
Abdeckhaube Motor, Messer, Motor 4028007 Serie A (2002)

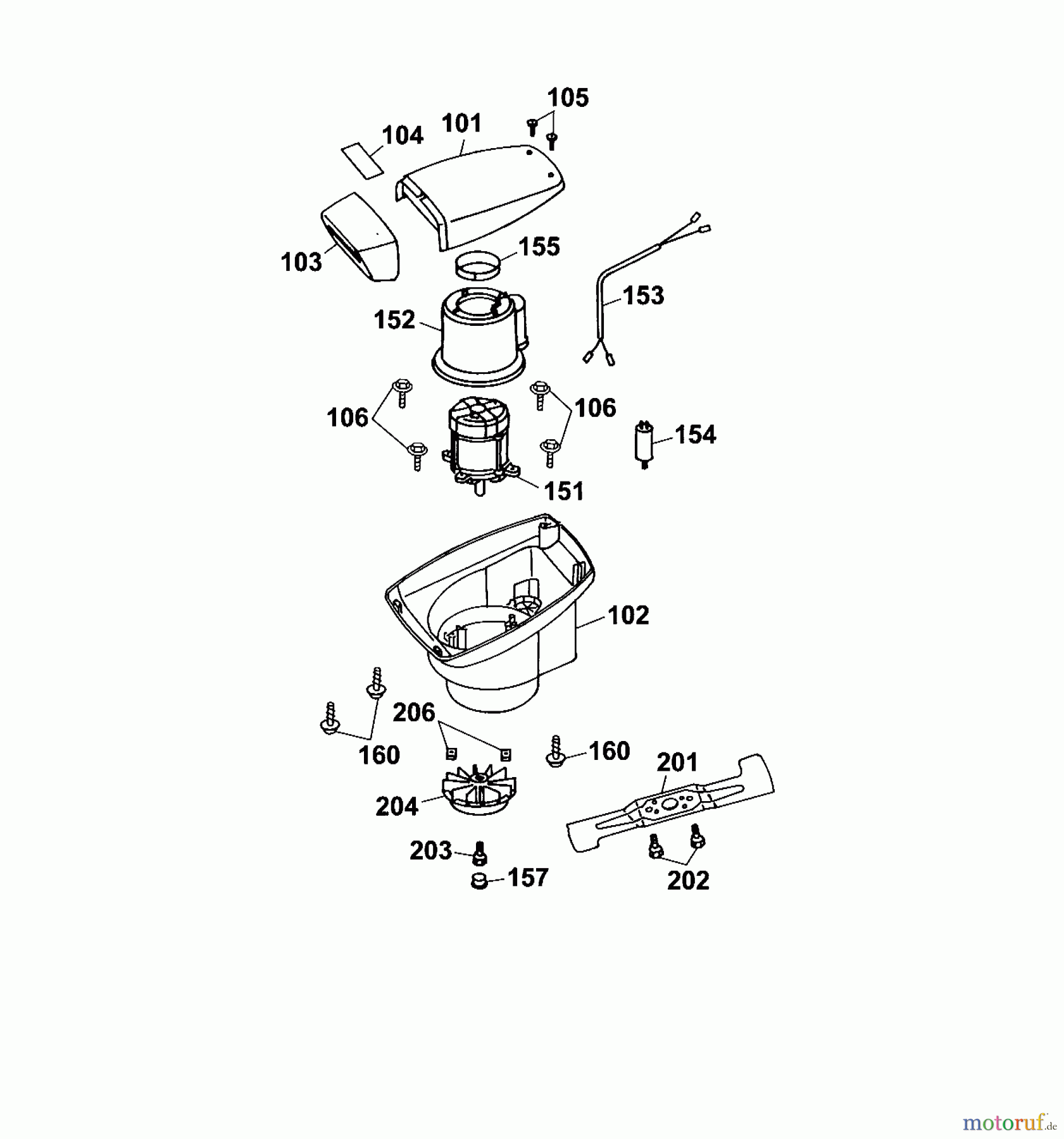
Hier finden Sie die Ersatzteilzeichnung für Wolf-Garten Elektromäher WGI 40 E 4028007 Serie A (2002) Abdeckhaube Motor, Messer, Motor. Wählen Sie das benötigte Ersatzteil aus der Ersatzteilliste Ihres Wolf-Garten Gerätes aus und bestellen Sie einfach online. Viele Wolf-Garten Ersatzteile halten wir ständig in unserem Lager für Sie bereit.




