Güde Benzin Anbauwerkzeug KEHRMASCHINE GKM 900 2 IN 1 - 95189 FSL95189-01 Ersatzteile
FSL95189-01 KEHRMASCHINE GKM 900 2 IN 1 - 95189
Gültig für folgende Seriennummern (ersten 5 Ziffern der Geräteseriennummer)
58126 58684 59204 59983 60516 60390

Hier finden Sie die Ersatzteilzeichnung für Güde Gartentechnik Kombigeräte Benzin Anbauwerkzeug KEHRMASCHINE GKM 900 2 IN 1 - 95189 FSL95189-01 Seite 2. Wählen Sie das benötigte Ersatzteil aus der Ersatzteilliste Ihres Güde Gerätes aus und bestellen Sie einfach online. Viele Güde Ersatzteile halten wir ständig in unserem Lager für Sie bereit.
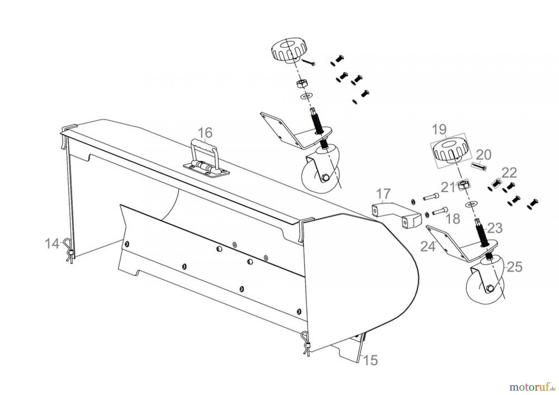
| BildNr | Artikel Nummer | Bezeichnung | |
| 14 | 95189-01014 | STIFT | |
| 15 | 95189-01015 | LIPPE AUFFANGBEHÄLTER | |
| 16 | 95189-01016 | GRIFF BEWEGLICH | |
| 17 | 95189-01017 | GRIFF FEST | |
| 18 | 95189-01018 | SCHRAUBE GRIFF FEST | |
| 19 | 95189-01019 | MUTTER HÖHENVERSTELLUNG | |
| 20 | 95189-01020 | SPLINT | |
| 21 | 95189-01021 | MUTTER RAD | |
| 22 | 95189-01022 | SCHRAUBE RADAUFNAHME | |
| 23 | 95189-01023 | HÖHENVERSTELLUNG | |
| 24 | 95189-01024 | RADAUFNAHME | |
| 25 | 95189-01025 | RAD | |
| Abb. | 95189-01026 | SCHRAUBENSATZ LIPPE AUFFANGBEH. | |


Qualitätsmanagement
Informieren Sie uns, wenn Sie einen Fehler gefunden haben.

