Dolmar Benzin 2-Takt LT-210 3 Vergaser, Luftfilter Ersatzteile
3 Vergaser, Luftfilter LT-210

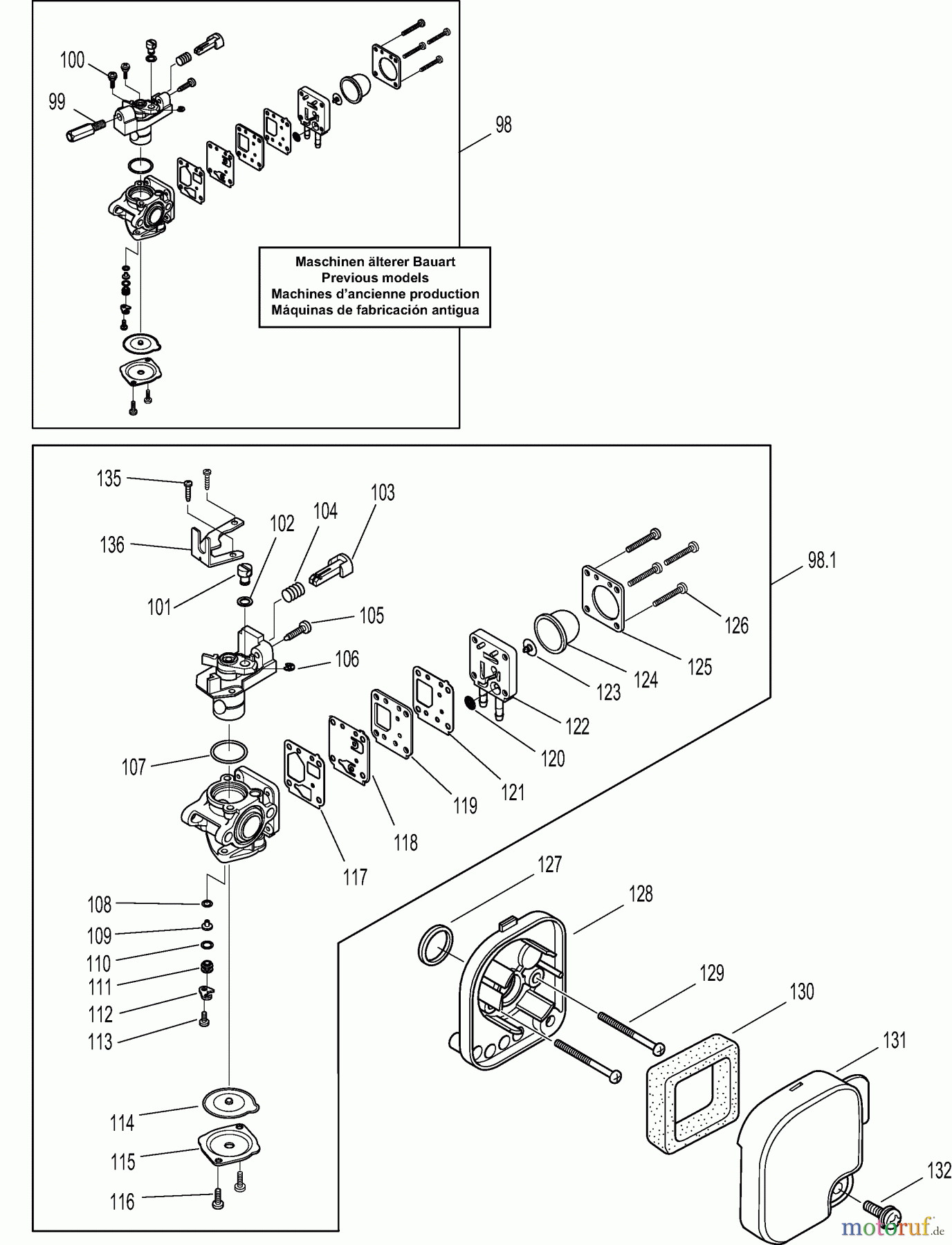
Hier finden Sie die Ersatzteilzeichnung für Dolmar Motorsensen & Trimmer Benzin 2-Takt LT-210 3 Vergaser, Luftfilter. Wählen Sie das benötigte Ersatzteil aus der Ersatzteilliste Ihres Dolmar Gerätes aus und bestellen Sie einfach online. Viele Dolmar Ersatzteile halten wir ständig in unserem Lager für Sie bereit.
| BildNr | Artikel Nummer | Bezeichnung | |
| 98 | 168681-7 | VERGASER TZ9V-2G | |
| 98.1 | 168682-5 | VERGASER TZ9V-2L | |
| 99 | 374601924 | EINSTELLSCHRAUBE | |
| 100 | 374601931 | SCHRAUBE | |
| 101 | 374601945 | NOCKEN | |
| 102 | 374601946 | SCHEIBE | |
| 103 | 374603601 | HEBEL | |
| 104 | 374603602 | FEDER | |
| 105 | 374601925 | SCHRAUBE | |
| 106 | 374601951 | SICHERUNGSSCHEIBE | |
| 107 | 374601922 | O-RING | |
| 108 | 213629-5 | O-RING | |
| 109 | 381603201 | HAUPTDüSE | |
| 110 | 374601941 | O-RING | |
| 111 | 374601936 | VENTIL KPL. | |
| 112 | 374601942 | FÜHRUNG | |
| 113 | 374601943 | SCHRAUBE | |
| 114 | 374601904 | STEUERMEMBRAN SATZ | |
| 115 | 374601905 | ABDECKUNG | |
| 116 | 374601906 | SCHRAUBE | |
| 117 | 374601911 | PUMPENDICHTUNG | |
| 118 | 374601912 | PUMPENMEMBRAN | |
| 119 | 374601935 | PUMPENPLATTE | |
| 120 | 352018-0 | FILTER | |
| 121 | 374601913 | DICHTUNG | |
| 122 | 374601934 | PUMPENDECKEL | |
| 123 | 374600903 | VENTIL | |
| 124 | 374600904 | PRIMERPUMPE | |
| 125 | 374601932 | PLATTE | |
| 126 | 374601914 | SCHRAUBE | |
| 127 | 213632-6 | O-RING | |
| 128 | 374301801 | GEHÄUSE | |
| 129 | 905405608 | SCHRAUBE M5X60 | |
| 130 | 374301703 | LUFTFILTER | |
| 131 | 374301802 | LUFTFILTERGEHÄUSE | |
| 132 | 221233160 | SCHRAUBE KPL. M5X14 W/W&SW | |
| 135 | 266720-8 | SCHRAUBE | |
| 136 | 346510-6 | GASZUGHALTER | |


Qualitätsmanagement
Informieren Sie uns, wenn Sie einen Fehler gefunden haben.

