Toro 6-0202 - 37" Snowthrower, 1975 PARTS LIST FOR 6-0202 SNOW THROWER-FACTORY ORDER NUMBER 6-0202 Ersatzteile
PARTS LIST FOR 6-0202 SNOW THROWER-FACTORY ORDER NUMBER 6-0202 6-0202 - Toro 37" Snowthrower, 1975

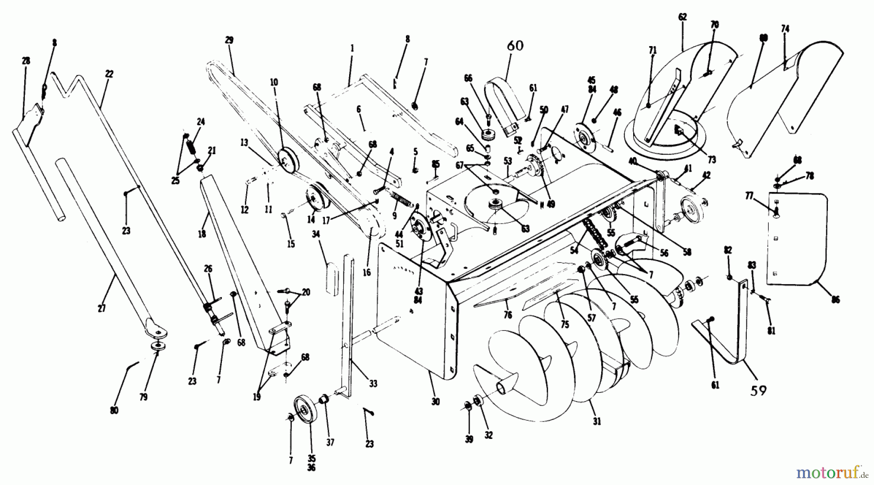
Hier finden Sie die Ersatzteilzeichnung für Toro Neu Snow Blowers/Snow Throwers Seite 2 6-0202 - Toro 37" Snowthrower, 1975 PARTS LIST FOR 6-0202 SNOW THROWER-FACTORY ORDER NUMBER 6-0202. Wählen Sie das benötigte Ersatzteil aus der Ersatzteilliste Ihres Toro Gerätes aus und bestellen Sie einfach online. Viele Toro Ersatzteile halten wir ständig in unserem Lager für Sie bereit.



