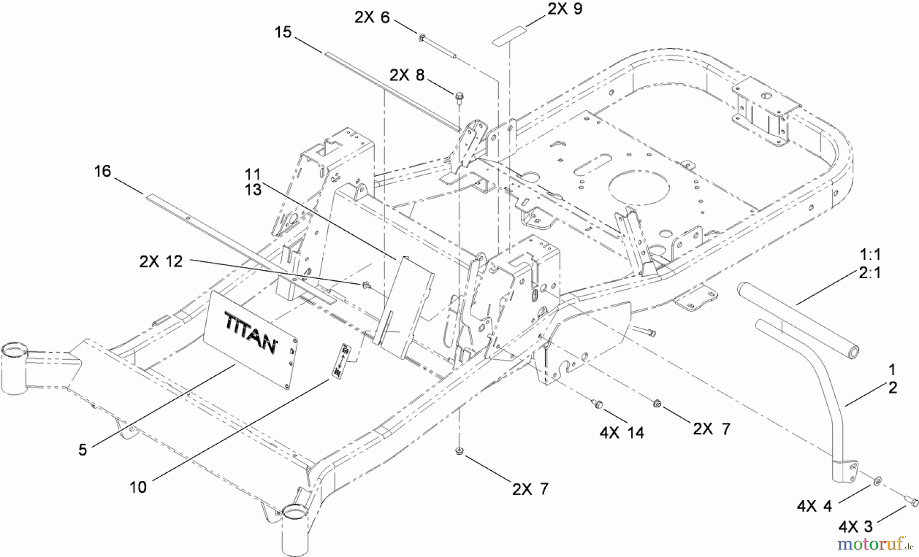
Toro 74832 (ZX5450) - TITAN ZX5450 Zero-Turn-Radius Riding Mower, 2010 (310000001-310999999) HANDLE CONTROL ASSEMBLY Ersatzteile
HANDLE CONTROL ASSEMBLY 74832 (ZX5450) - Toro TITAN ZX5450 Zero-Turn-Radius Riding Mower, 2010 (310000001-310999999)

Hier finden Sie die Ersatzteilzeichnung für Toro Neu Mowers, Zero-Turn 74832 (ZX5450) - Toro TITAN ZX5450 Zero-Turn-Radius Riding Mower, 2010 (310000001-310999999) HANDLE CONTROL ASSEMBLY. Wählen Sie das benötigte Ersatzteil aus der Ersatzteilliste Ihres Toro Gerätes aus und bestellen Sie einfach online. Viele Toro Ersatzteile halten wir ständig in unserem Lager für Sie bereit.


Qualitätsmanagement
Informieren Sie uns, wenn Sie einen Fehler gefunden haben.


