Toro 74601 (Z17-44) - Z17-44 TimeCutter Z Riding Mower, 2002 (220000001-220000912) AIR INTAKE / FILTRATION ASSEMBLY KOHLER CV 490-27503 Ersatzteile
AIR INTAKE / FILTRATION ASSEMBLY KOHLER CV 490-27503 74601 (Z17-44) - Toro Z17-44 TimeCutter Z Riding Mower, 2002 (220000001-220000912)

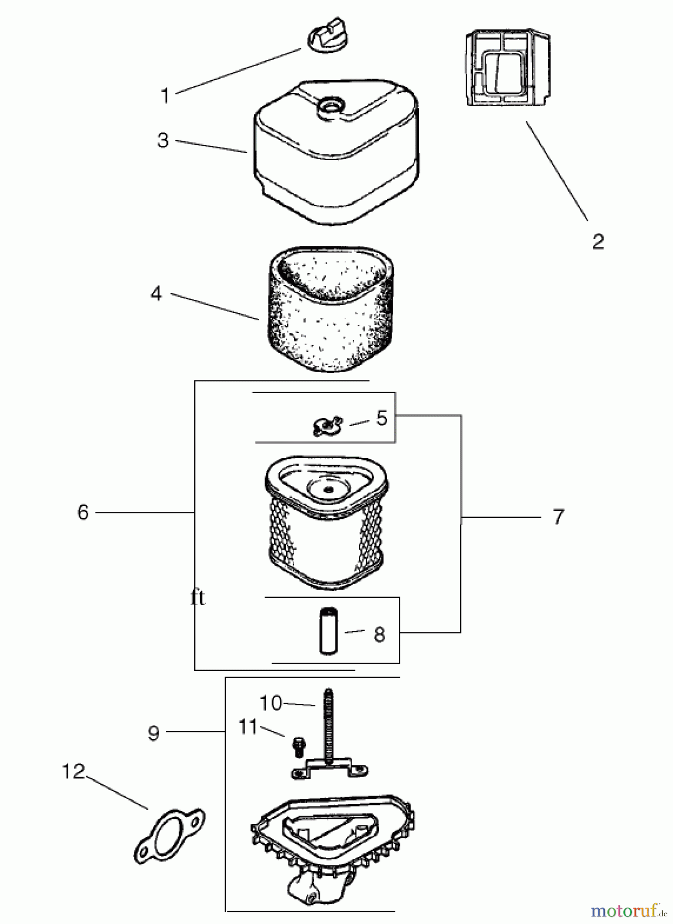
Hier finden Sie die Ersatzteilzeichnung für Toro Neu Mowers, Zero-Turn 74601 (Z17-44) - Toro Z17-44 TimeCutter Z Riding Mower, 2002 (220000001-220000912) AIR INTAKE / FILTRATION ASSEMBLY KOHLER CV 490-27503. Wählen Sie das benötigte Ersatzteil aus der Ersatzteilliste Ihres Toro Gerätes aus und bestellen Sie einfach online. Viele Toro Ersatzteile halten wir ständig in unserem Lager für Sie bereit.


Qualitätsmanagement
Informieren Sie uns, wenn Sie einen Fehler gefunden haben.

