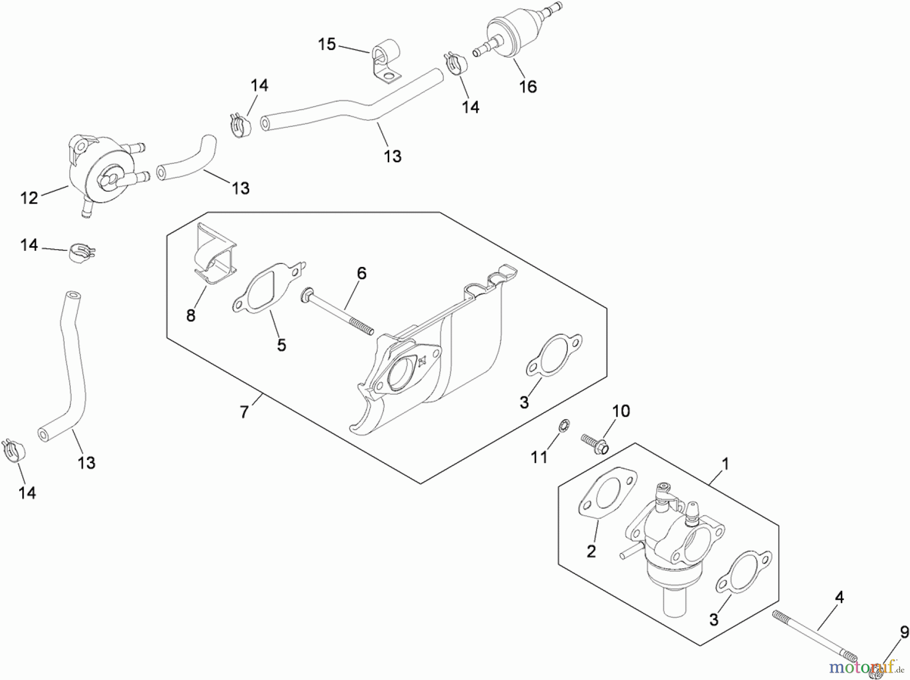
Toro 74363 (Z4200) - TimeCutter Z4220 Riding Mower, 2009 (290000505-290999999) FUEL SYSTEM ASSEMBLY KOHLER SV610-0211 Ersatzteile
FUEL SYSTEM ASSEMBLY KOHLER SV610-0211 74363 (Z4200) - Toro TimeCutter Z4220 Riding Mower, 2009 (290000505-290999999)

Hier finden Sie die Ersatzteilzeichnung für Toro Neu Mowers, Zero-Turn 74363 (Z4200) - Toro TimeCutter Z4220 Riding Mower, 2009 (290000505-290999999) FUEL SYSTEM ASSEMBLY KOHLER SV610-0211. Wählen Sie das benötigte Ersatzteil aus der Ersatzteilliste Ihres Toro Gerätes aus und bestellen Sie einfach online. Viele Toro Ersatzteile halten wir ständig in unserem Lager für Sie bereit.


Qualitätsmanagement
Informieren Sie uns, wenn Sie einen Fehler gefunden haben.

