Toro 74301 (14-38Z) - 14-38Z TimeCutter Z Riding Mower, 2003 (230000001-230999999) FAN AND PULLEY ASSEMBLY RH HYDROSTAT NO. 105-3491 Ersatzteile
FAN AND PULLEY ASSEMBLY RH HYDROSTAT NO. 105-3491 74301 (14-38Z) - Toro 14-38Z TimeCutter Z Riding Mower, 2003 (230000001-230999999)

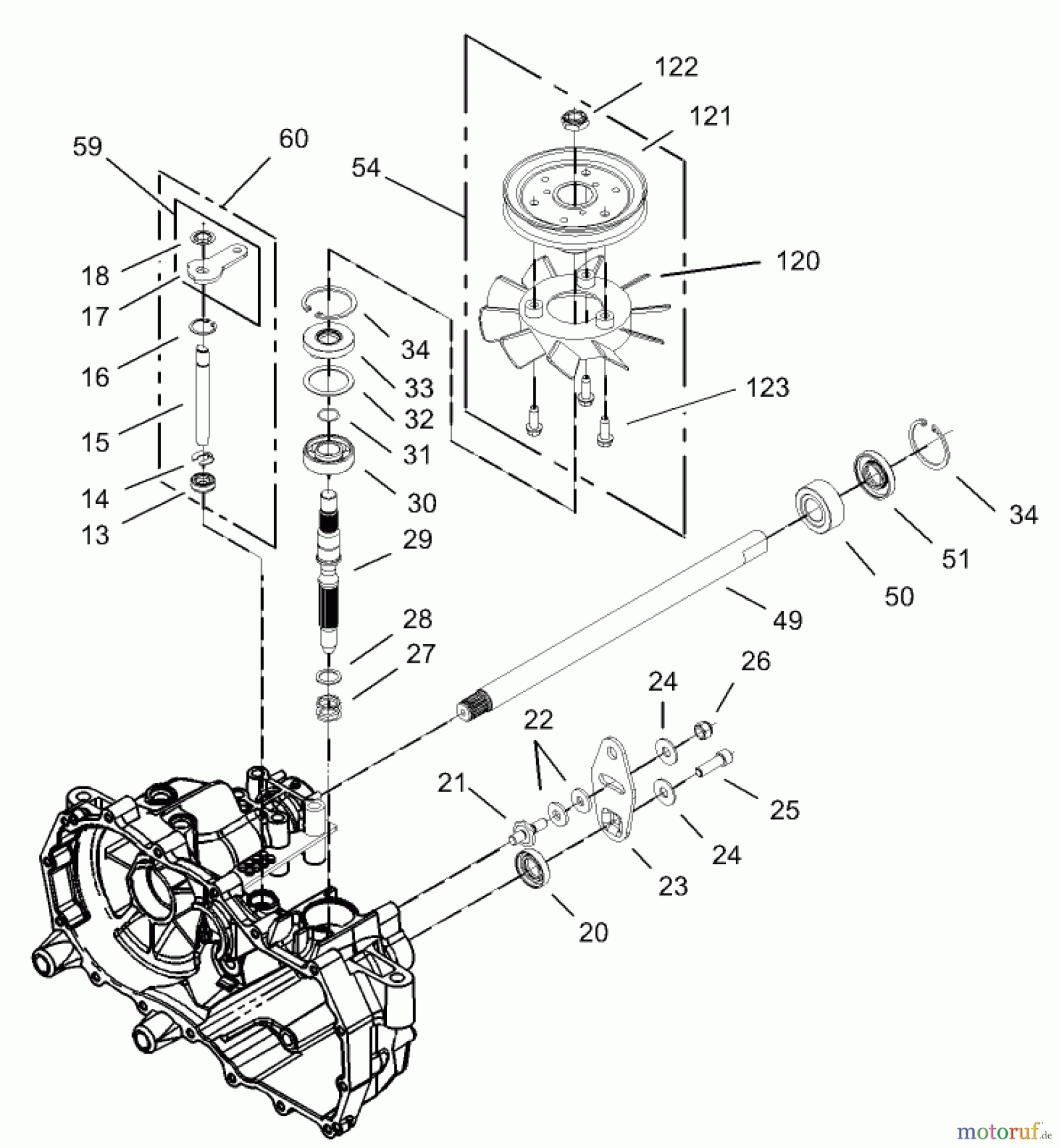
Hier finden Sie die Ersatzteilzeichnung für Toro Neu Mowers, Zero-Turn 74301 (14-38Z) - Toro 14-38Z TimeCutter Z Riding Mower, 2003 (230000001-230999999) FAN AND PULLEY ASSEMBLY RH HYDROSTAT NO. 105-3491. Wählen Sie das benötigte Ersatzteil aus der Ersatzteilliste Ihres Toro Gerätes aus und bestellen Sie einfach online. Viele Toro Ersatzteile halten wir ständig in unserem Lager für Sie bereit.


Qualitätsmanagement
Informieren Sie uns, wenn Sie einen Fehler gefunden haben.

