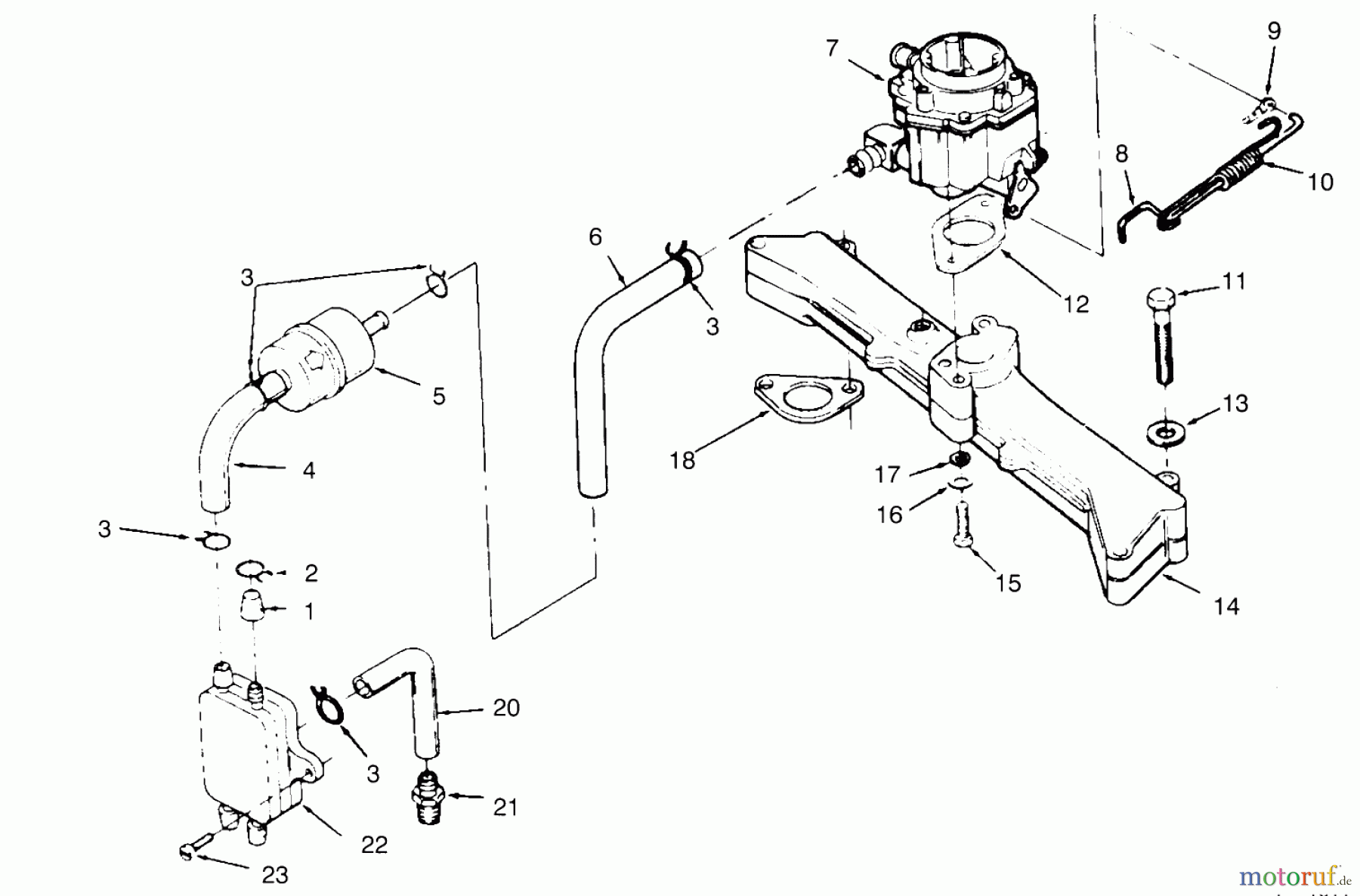
Toro 74140 (724-Z) - 724-Z Tractor, 1995 (590001-599999) CARBURETOR, INTAKE MANIFOLD & FUEL PUMP Ersatzteile
CARBURETOR, INTAKE MANIFOLD & FUEL PUMP 74140 (724-Z) - Toro 724-Z Tractor, 1995 (590001-599999)

Hier finden Sie die Ersatzteilzeichnung für Toro Neu Mowers, Zero-Turn 74140 (724-Z) - Toro 724-Z Tractor, 1995 (590001-599999) CARBURETOR, INTAKE MANIFOLD & FUEL PUMP. Wählen Sie das benötigte Ersatzteil aus der Ersatzteilliste Ihres Toro Gerätes aus und bestellen Sie einfach online. Viele Toro Ersatzteile halten wir ständig in unserem Lager für Sie bereit.


Qualitätsmanagement
Informieren Sie uns, wenn Sie einen Fehler gefunden haben.

