Toro 23301 - Lawnmower, 1967 (7000001-7999999) CARBURETOR MODEL NO. 631115 Ersatzteile
CARBURETOR MODEL NO. 631115 23301 - Toro Lawnmower, 1967 (7000001-7999999)

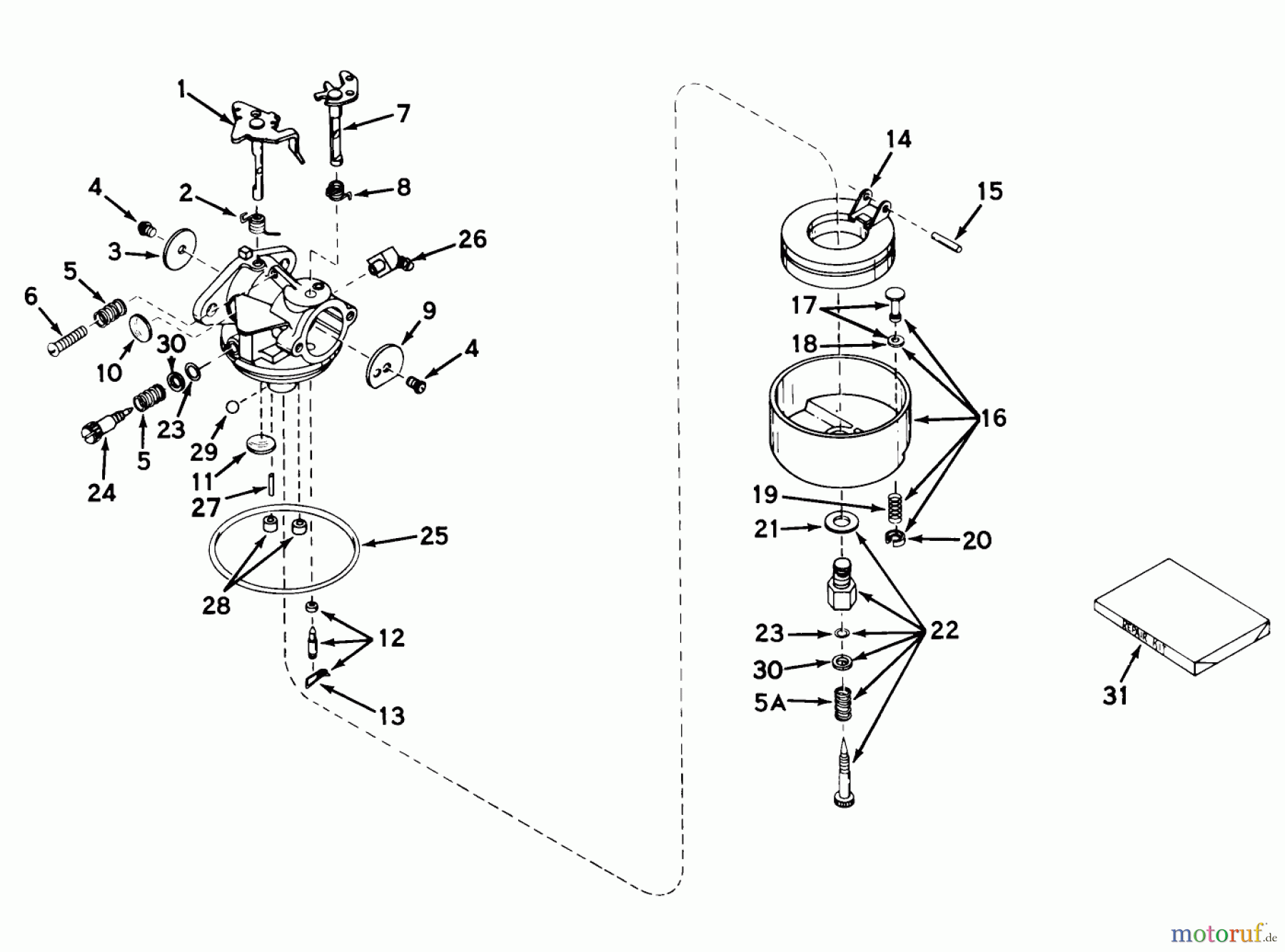
Hier finden Sie die Ersatzteilzeichnung für Toro Neu Mowers, Wide-Area Walk-Behind 23301 - Toro Lawnmower, 1967 (7000001-7999999) CARBURETOR MODEL NO. 631115. Wählen Sie das benötigte Ersatzteil aus der Ersatzteilliste Ihres Toro Gerätes aus und bestellen Sie einfach online. Viele Toro Ersatzteile halten wir ständig in unserem Lager für Sie bereit.


Qualitätsmanagement
Informieren Sie uns, wenn Sie einen Fehler gefunden haben.




