Toro 26651 - Lawnmower, 1989 (9000001-9999999) REWIND STARTER TECUMSEH NO. 590621 Ersatzteile
REWIND STARTER TECUMSEH NO. 590621 26651 - Toro Lawnmower, 1989 (9000001-9999999)

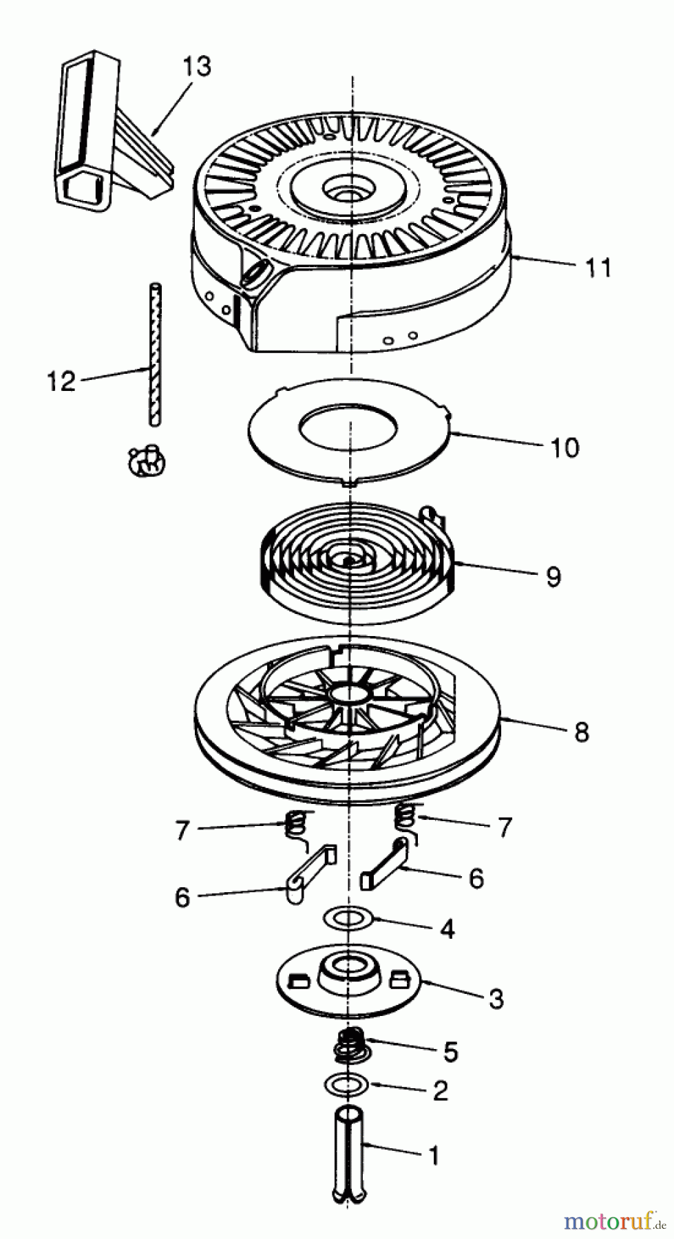
Hier finden Sie die Ersatzteilzeichnung für Toro Neu Mowers, Walk-Behind Seite 2 26651 - Toro Lawnmower, 1989 (9000001-9999999) REWIND STARTER TECUMSEH NO. 590621. Wählen Sie das benötigte Ersatzteil aus der Ersatzteilliste Ihres Toro Gerätes aus und bestellen Sie einfach online. Viele Toro Ersatzteile halten wir ständig in unserem Lager für Sie bereit.
| BildNr | Artikel Nummer | Bezeichnung | |
| 1 | TC590599A | SPANNSTIFT | |
| 2 | TC590600 | SCHEIBE | |
| 3 | TC590615 | SICHERUNGSRING | |
| 4 | TC590601 | WASHER | |
| 5 | TC590598 | BRAKE SPRING | |
| 6 | TC590616 | STARTER DOG | |
| 7 | TC590617 | FEDER | |
| 8 | TC590618A | PULLEY ASSY | |
| 9 | TC590619 | STARTERFEDER | |
| 10 | TC590620 | DECKEL | |
| 11 | TC590687B | STARTER HSG | |
| 12 | TC590535 | STARTERSEIL | |
| 13 | TC590701 | STARTERGRIFF | |


Qualitätsmanagement
Informieren Sie uns, wenn Sie einen Fehler gefunden haben.

