Einstellungen Computer

Toro 22178 - 21" Heavy-Duty Rear Bagger Lawnmower, 2006 (260000001-260004000) AIR FILTER AND MUFFLER ASSEMBLY Ersatzteile

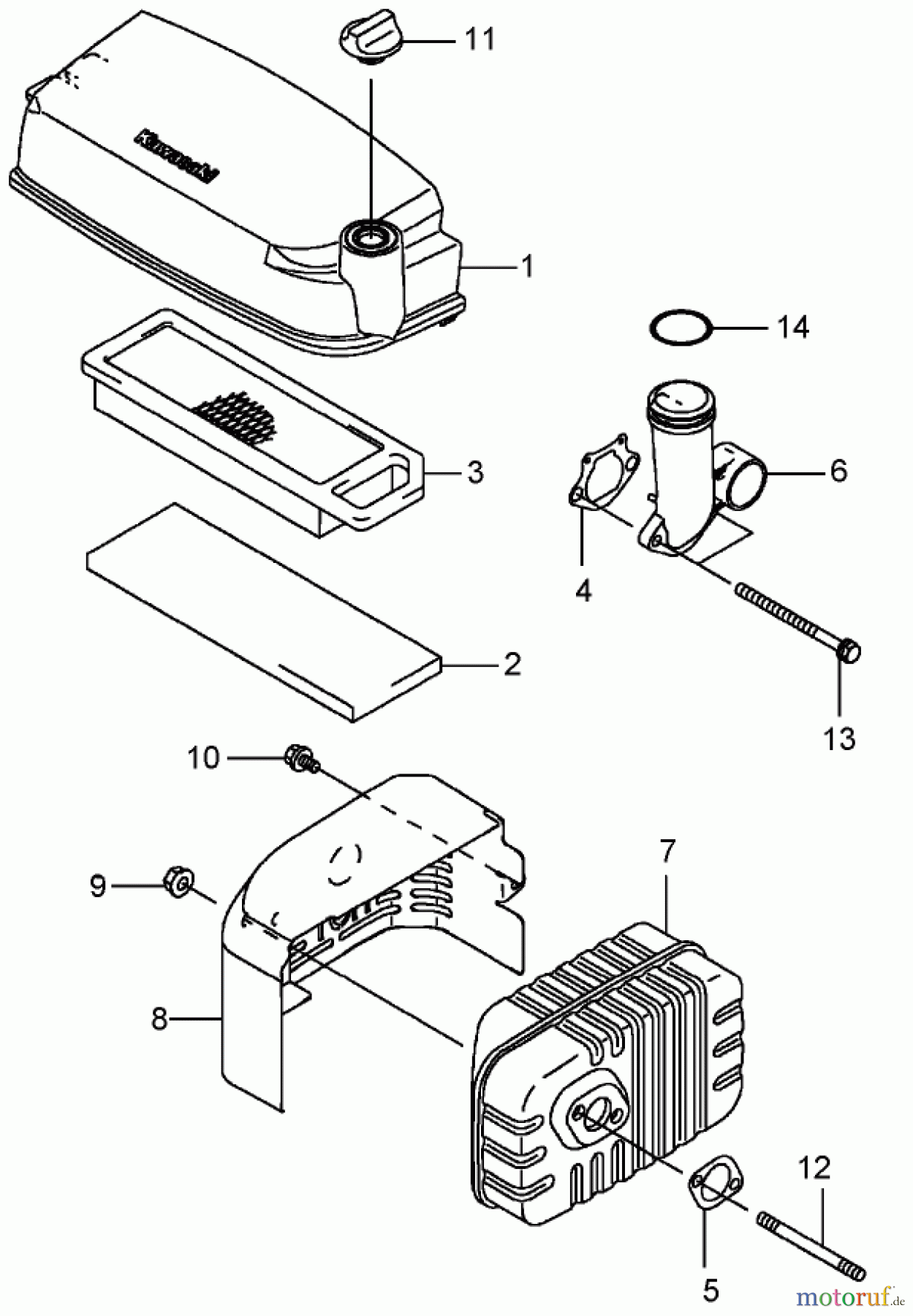
AIR FILTER AND MUFFLER ASSEMBLY 22178 - Toro 21" Heavy-Duty Rear Bagger Lawnmower, 2006 (260000001-260004000)

 Toro Neu Mowers, Walk-Behind Seite 2 22178 - Toro 21

Hier finden Sie die Ersatzteilzeichnung für Toro Neu Mowers, Walk-Behind Seite 2 22178 - Toro 21" Heavy-Duty Rear Bagger Lawnmower, 2006 (260000001-260004000) AIR FILTER AND MUFFLER ASSEMBLY. Wählen Sie das benötigte Ersatzteil aus der Ersatzteilliste Ihres Toro Gerätes aus und bestellen Sie einfach online. Viele Toro Ersatzteile halten wir ständig in unserem Lager für Sie bereit.

Rasen
Bankeinzug, MasterCard, Visa, American Express, PayPal, Nachnahme, Vorauskasse, Sofortüberweisung
Datenschutzerklärung Impressum
Qualitätsmanagement
Informieren Sie uns, wenn Sie einen Fehler gefunden haben.