Toro 22167 - 21" Heavy-Duty Recycler/Rear Bagger Lawnmower, 2003 (230000001-230999999) LABEL ASSEMBLY AND GASKET KITS HONDA GXV160K1 A1 Ersatzteile
LABEL ASSEMBLY AND GASKET KITS HONDA GXV160K1 A1 22167 - Toro 21" Heavy-Duty Recycler/Rear Bagger Lawnmower, 2003 (230000001-230999999)

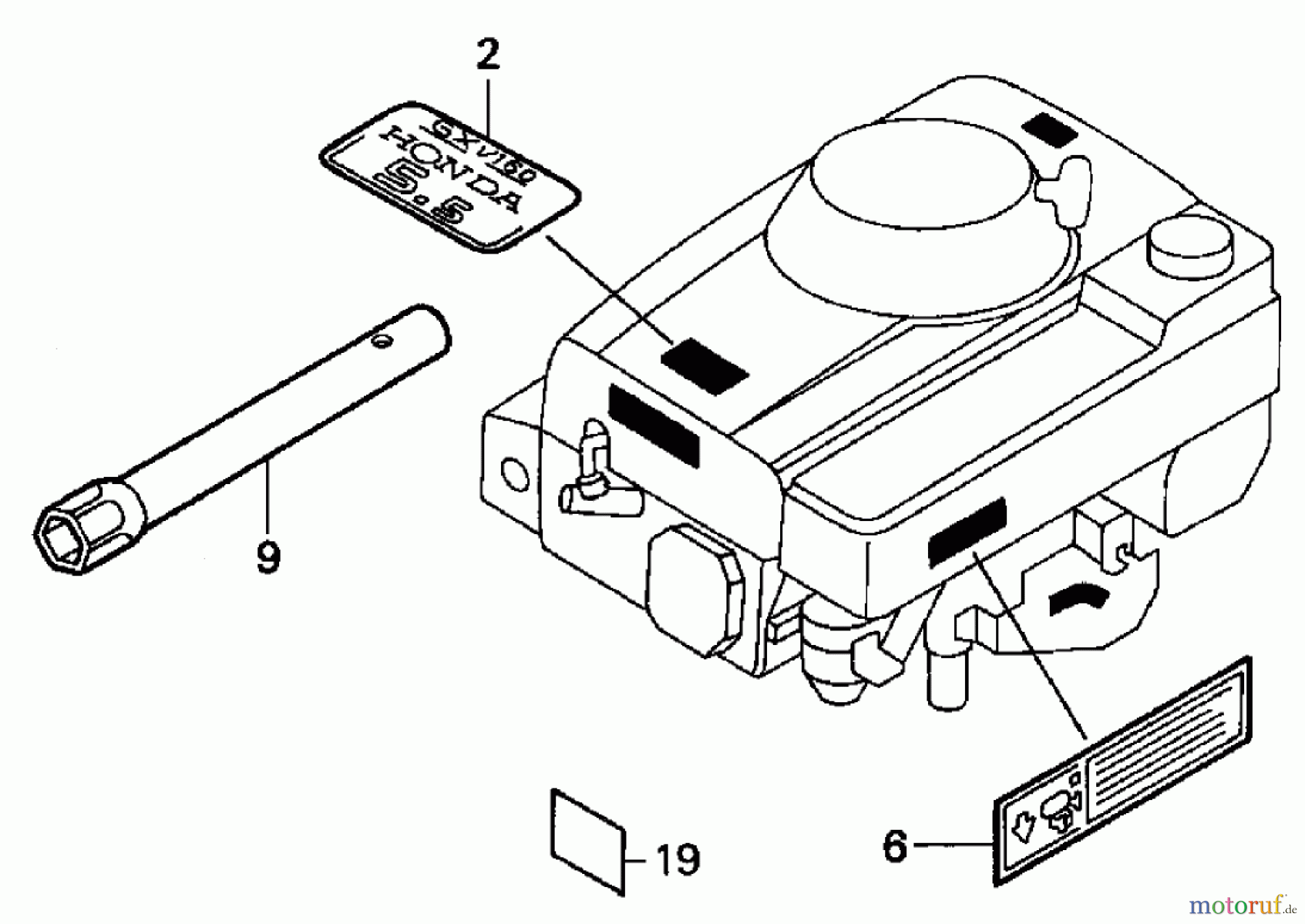
Hier finden Sie die Ersatzteilzeichnung für Toro Neu Mowers, Walk-Behind Seite 2 22167 - Toro 21" Heavy-Duty Recycler/Rear Bagger Lawnmower, 2003 (230000001-230999999) LABEL ASSEMBLY AND GASKET KITS HONDA GXV160K1 A1. Wählen Sie das benötigte Ersatzteil aus der Ersatzteilliste Ihres Toro Gerätes aus und bestellen Sie einfach online. Viele Toro Ersatzteile halten wir ständig in unserem Lager für Sie bereit.
| BildNr | Artikel Nummer | Bezeichnung | |
| 2 | Honda 87101-ZE7-W12 | ||
| Honda 87101-ZE7-W30 | |||
| 6 | Honda 87531-ZG9-800 | ||
| 9 | Honda 99004-21003 | ||
| 19 | Honda 87601-ZE7-W30 | ||
| TR061A1-ZE7-801 | |||
| Honda 06111-ZE7-406 | |||


Qualitätsmanagement
Informieren Sie uns, wenn Sie einen Fehler gefunden haben.

