Toro 20330 - 22" Recycler Lawn Mower, 2009 (290000001-290999999) BLOWER HOUSING AND FLYWHEEL ASSEMBLY BRIGGS AND STRATTON 124T02-0203-B1 Ersatzteile
BLOWER HOUSING AND FLYWHEEL ASSEMBLY BRIGGS AND STRATTON 124T02-0203-B1 20330 - Toro 22" Recycler Lawn Mower, 2009 (290000001-290999999)

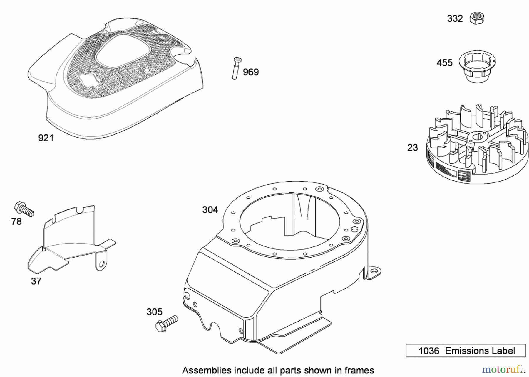
Hier finden Sie die Ersatzteilzeichnung für Toro Neu Mowers, Walk-Behind Seite 1 20330 - Toro 22" Recycler Lawn Mower, 2009 (290000001-290999999) BLOWER HOUSING AND FLYWHEEL ASSEMBLY BRIGGS AND STRATTON 124T02-0203-B1. Wählen Sie das benötigte Ersatzteil aus der Ersatzteilliste Ihres Toro Gerätes aus und bestellen Sie einfach online. Viele Toro Ersatzteile halten wir ständig in unserem Lager für Sie bereit.
| BildNr | Artikel Nummer | Bezeichnung | |
| 23 | ![]() | BS691987 | SCHWUNGRAD |
| 37 | BS793756 | LUFTERRADABDECKUNG | |
| 305 | ![]() | BS691108 | SCHRAUBE |
| 304 | BS790826 | GEBLASEGEHAUSE | |
| 305 | ![]() | BS691108 | SCHRAUBE |
| 332 | BS690662 | SECHSKANTMUTTER | |
| 455 | BS791760 | DICHTUNG | |
| 921 | BS792652 | LUEFTERGEHAEUSE | |
| 969 | ![]() | BS691138 | SCHRAUBE |
| 1036 | BS | Eingangswelle UE 600 | |


Qualitätsmanagement
Informieren Sie uns, wenn Sie einen Fehler gefunden haben.




