Toro 73561 (550) - 550 Garden Tractor, 2005 (250000001-250999999) AIR INTAKE / FILTRATION ASSEMBLY KOHLER CH22S-66545 Ersatzteile
AIR INTAKE / FILTRATION ASSEMBLY KOHLER CH22S-66545 73561 (550) - Toro 550 Garden Tractor, 2005 (250000001-250999999)

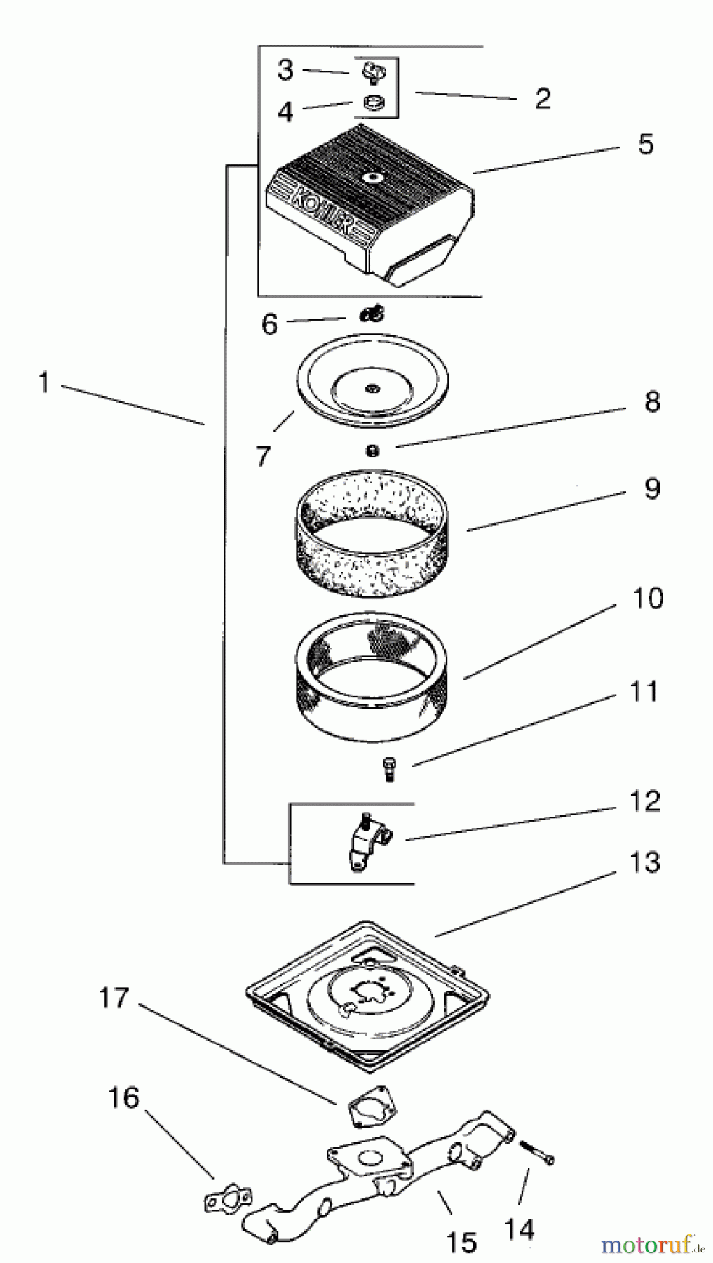
Hier finden Sie die Ersatzteilzeichnung für Toro Neu Mowers, Lawn & Garden Tractor Seite 1 73561 (550) - Toro 550 Garden Tractor, 2005 (250000001-250999999) AIR INTAKE / FILTRATION ASSEMBLY KOHLER CH22S-66545. Wählen Sie das benötigte Ersatzteil aus der Ersatzteilliste Ihres Toro Gerätes aus und bestellen Sie einfach online. Viele Toro Ersatzteile halten wir ständig in unserem Lager für Sie bereit.
| BildNr | Artikel Nummer | Bezeichnung | |
| 6 | KH1210001-S | NUT, WING | |
| 7 | KH2409601-S | COVER, INNER AIR CLEANER | |
| 11 | KHM-639016 | Schraube | |
| 14 | KHM-0651055 | ||
| 15 | KH2416414-S | MANIFOLD, METAL INTAKE | |
| 16 | KH2404101-S | GASKET, INTAKE MANIFOLD | |
| 17 | KH2404106-S | GASKET, AIR CLEANER BASE | |


Qualitätsmanagement
Informieren Sie uns, wenn Sie einen Fehler gefunden haben.

