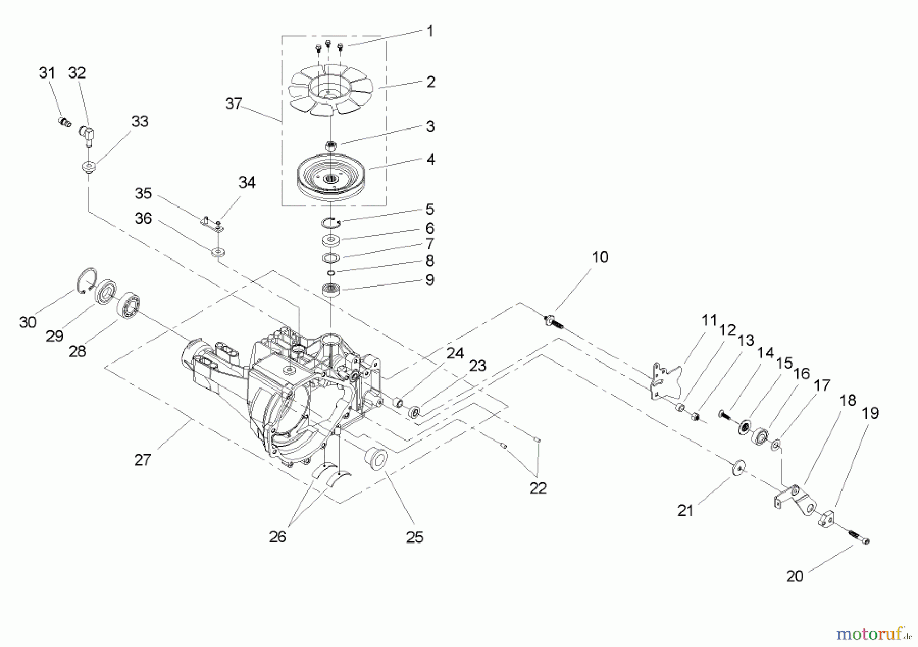
Toro 72201 (420) - 420 Garden Tractor, 2005 (250000001-250999999) HOUSING AND FAN ASSEMBLY TRANSAXLE ASSEMBLY NO. 104-4310 Ersatzteile
HOUSING AND FAN ASSEMBLY TRANSAXLE ASSEMBLY NO. 104-4310 72201 (420) - Toro 420 Garden Tractor, 2005 (250000001-250999999)

Hier finden Sie die Ersatzteilzeichnung für Toro Neu Mowers, Lawn & Garden Tractor Seite 1 72201 (420) - Toro 420 Garden Tractor, 2005 (250000001-250999999) HOUSING AND FAN ASSEMBLY TRANSAXLE ASSEMBLY NO. 104-4310. Wählen Sie das benötigte Ersatzteil aus der Ersatzteilliste Ihres Toro Gerätes aus und bestellen Sie einfach online. Viele Toro Ersatzteile halten wir ständig in unserem Lager für Sie bereit.



