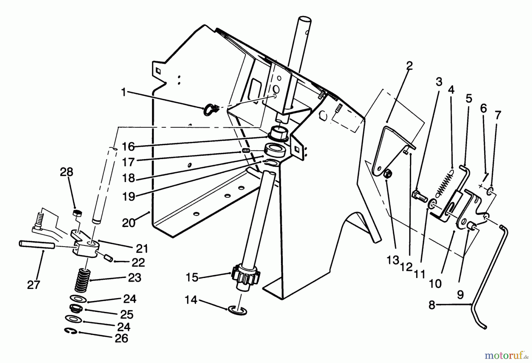
Toro 72041 (244-H) - 244-H Yard Tractor, 1993 (3900001-3999999) STEERING SHAFT AND INDICATOR ASSEMBLY Ersatzteile
STEERING SHAFT AND INDICATOR ASSEMBLY 72041 (244-H) - Toro 244-H Yard Tractor, 1993 (3900001-3999999)

Hier finden Sie die Ersatzteilzeichnung für Toro Neu Mowers, Lawn & Garden Tractor Seite 1 72041 (244-H) - Toro 244-H Yard Tractor, 1993 (3900001-3999999) STEERING SHAFT AND INDICATOR ASSEMBLY. Wählen Sie das benötigte Ersatzteil aus der Ersatzteilliste Ihres Toro Gerätes aus und bestellen Sie einfach online. Viele Toro Ersatzteile halten wir ständig in unserem Lager für Sie bereit.





