Toro 71217 (14-38HXL) - 14-38HXL Lawn Tractor, 1996 (6900001-6999999) ENGINE BRIGGS & STRATTON MODEL 28N777-0174-01 #4 Ersatzteile
ENGINE BRIGGS & STRATTON MODEL 28N777-0174-01 #4 71217 (14-38HXL) - Toro 14-38HXL Lawn Tractor, 1996 (6900001-6999999)

Hier finden Sie die Ersatzteilzeichnung für Toro Neu Mowers, Lawn & Garden Tractor Seite 1 71217 (14-38HXL) - Toro 14-38HXL Lawn Tractor, 1996 (6900001-6999999) ENGINE BRIGGS & STRATTON MODEL 28N777-0174-01 #4. Wählen Sie das benötigte Ersatzteil aus der Ersatzteilliste Ihres Toro Gerätes aus und bestellen Sie einfach online. Viele Toro Ersatzteile halten wir ständig in unserem Lager für Sie bereit.
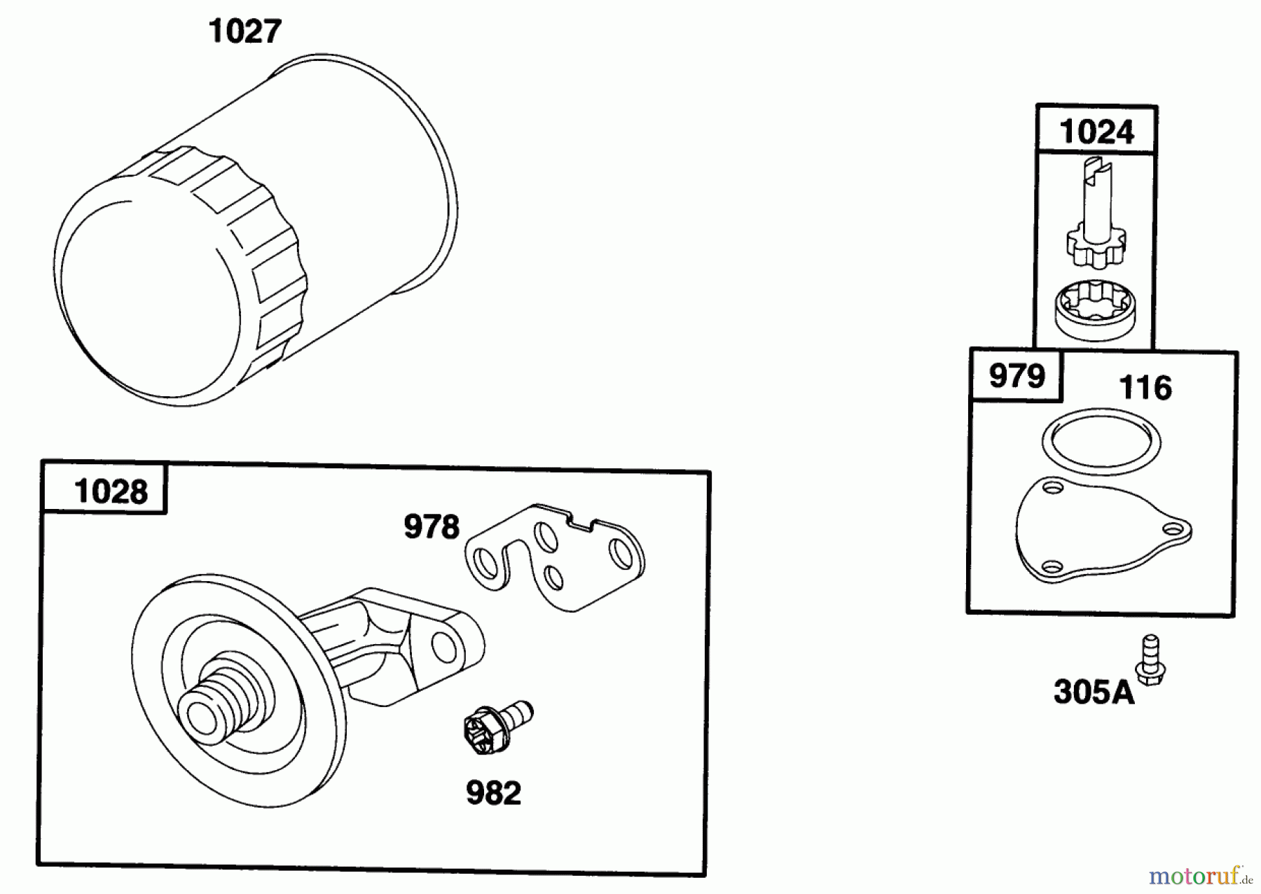
| BildNr | Artikel Nummer | Bezeichnung | |
| 116 | BS690604 | DICHTUNG - O-RING | |
| 117A | BS231850 | HAUPTDUESE | |
| 305A | BS94786 | ||
| 978 | BS691317 | ZWISCHENSTUECK | |
| 979 | BS496745 | DECKEL, OELEINFUELLUNG | |
| 982 | BS690372 | SCHRAUBE | |
| 1024 | BS493884 | OELPUMPE | |
| 1027 | ![]() | BS492932S | OELFILTER |
| 1028 | BS496744 | OELFILTERADAPTER | |


Qualitätsmanagement
Informieren Sie uns, wenn Sie einen Fehler gefunden haben.


