Toro 14AP80RP544 (GT2100) - GT2100 Garden Tractor, 2006 (1A136H30000-) FUEL SYSTEM ASSEMBLY KOHLER SV720-0017 Ersatzteile
FUEL SYSTEM ASSEMBLY KOHLER SV720-0017 14AP80RP544 (GT2100) - Toro GT2100 Garden Tractor, 2006 (1A136H30000-)

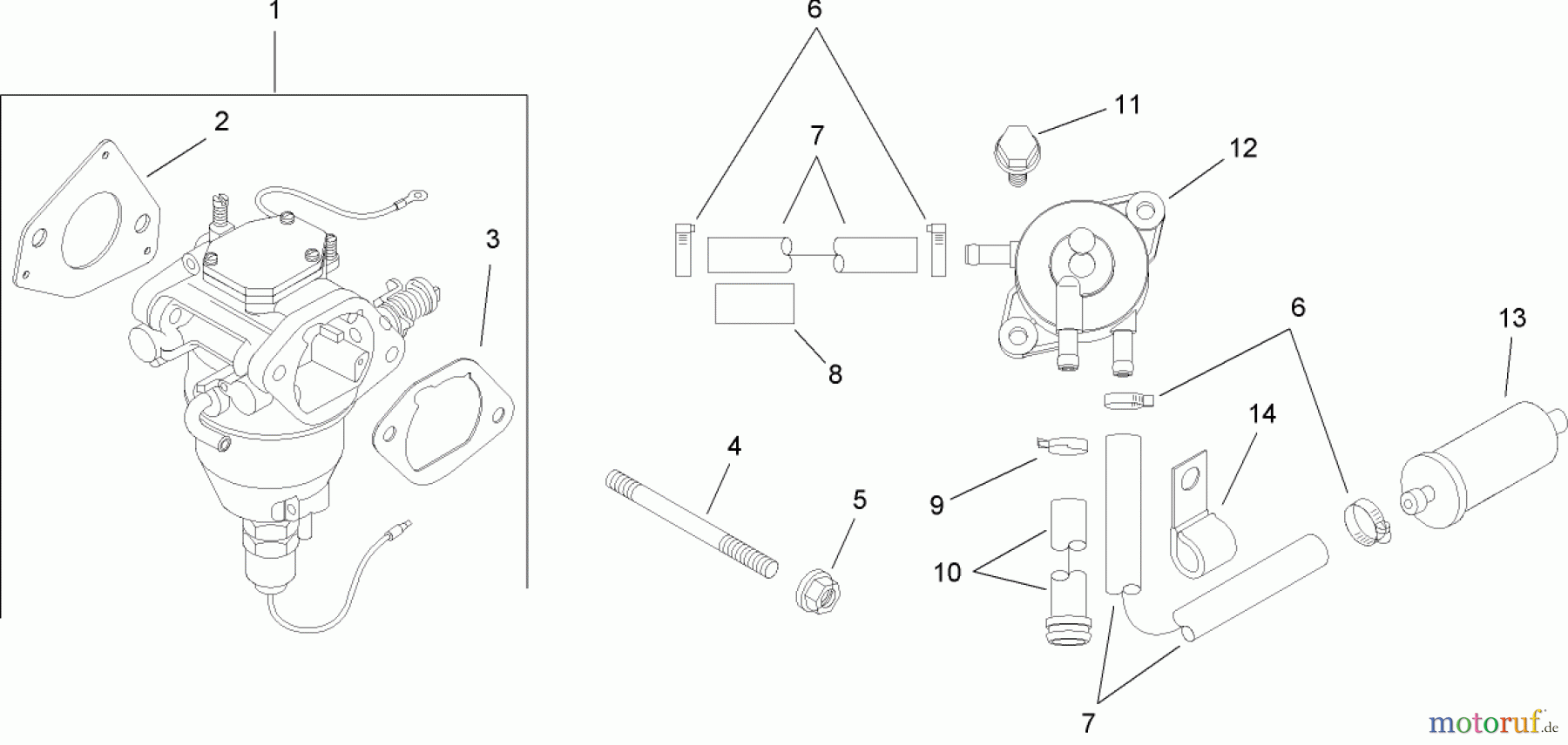
Hier finden Sie die Ersatzteilzeichnung für Toro Neu Mowers, Lawn & Garden Tractor Seite 1 14AP80RP544 (GT2100) - Toro GT2100 Garden Tractor, 2006 (1A136H30000-) FUEL SYSTEM ASSEMBLY KOHLER SV720-0017. Wählen Sie das benötigte Ersatzteil aus der Ersatzteilliste Ihres Toro Gerätes aus und bestellen Sie einfach online. Viele Toro Ersatzteile halten wir ständig in unserem Lager für Sie bereit.




