Toro 13BX60RG544 (LX425) - LX425 Lawn Tractor, 2007 (SN 1E237H10145-) FUEL SYSTEM ASSEMBLY KOHLER SV720-0011 Ersatzteile
FUEL SYSTEM ASSEMBLY KOHLER SV720-0011 13BX60RG544 (LX425) - Toro LX425 Lawn Tractor, 2007 (SN 1E237H10145-)

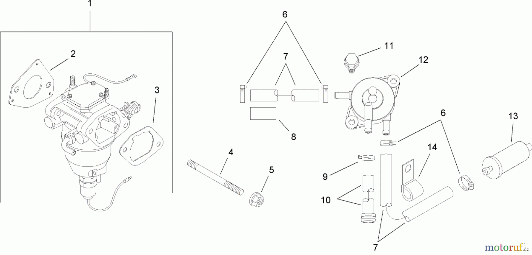
Hier finden Sie die Ersatzteilzeichnung für Toro Neu Mowers, Lawn & Garden Tractor Seite 1 13BX60RG544 (LX425) - Toro LX425 Lawn Tractor, 2007 (SN 1E237H10145-) FUEL SYSTEM ASSEMBLY KOHLER SV720-0011. Wählen Sie das benötigte Ersatzteil aus der Ersatzteilliste Ihres Toro Gerätes aus und bestellen Sie einfach online. Viele Toro Ersatzteile halten wir ständig in unserem Lager für Sie bereit.


Qualitätsmanagement
Informieren Sie uns, wenn Sie einen Fehler gefunden haben.

