Toro 13AX60RH544 (LX460) - LX460 Lawn Tractor, 2006 (1A056B50000-) DOUBLE PULLEY SPINDLE ASSEMBLY NO. 112-0383 Ersatzteile
DOUBLE PULLEY SPINDLE ASSEMBLY NO. 112-0383 13AX60RH544 (LX460) - Toro LX460 Lawn Tractor, 2006 (1A056B50000-)

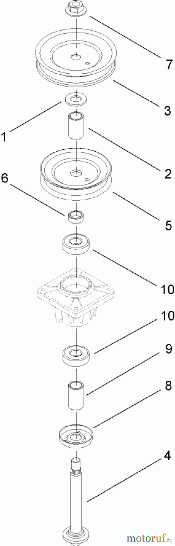
Hier finden Sie die Ersatzteilzeichnung für Toro Neu Mowers, Lawn & Garden Tractor Seite 1 13AX60RH544 (LX460) - Toro LX460 Lawn Tractor, 2006 (1A056B50000-) DOUBLE PULLEY SPINDLE ASSEMBLY NO. 112-0383. Wählen Sie das benötigte Ersatzteil aus der Ersatzteilliste Ihres Toro Gerätes aus und bestellen Sie einfach online. Viele Toro Ersatzteile halten wir ständig in unserem Lager für Sie bereit.
| BildNr | Artikel Nummer | Bezeichnung | |
| 1 | TR112-0921 | WASHER-FLAT | |
| 2 | TR112-5927 | SPACER | |
| 3 | TR112-0382 | PULLEY-DECK | |
| 4 | TR112-5928 | SHAFT-SPINDLE | |
| 5 | TR112-0359 | PULLEY-DECK | |
| 6 | TR112-5929 | SPACER | |
| 7 | TR112-0330 | NUT-LOCK, FLANGE | |
| 8 | TR112-5923 | BEARING-SHOULDER | |
| 9 | TR112-0654 | SPACER | |
| 10 | TR112-0377 | BEARING-BALL | |


Qualitätsmanagement
Informieren Sie uns, wenn Sie einen Fehler gefunden haben.

