Toro 13AP62RP544 (SL500) - SL500 Super Lawn Tractor, 2007 (1B157H20701-) FUEL SYSTEM ASSEMBLY KOHLER SV720-0011 Ersatzteile
FUEL SYSTEM ASSEMBLY KOHLER SV720-0011 13AP62RP544 (SL500) - Toro SL500 Super Lawn Tractor, 2007 (1B157H20701-)

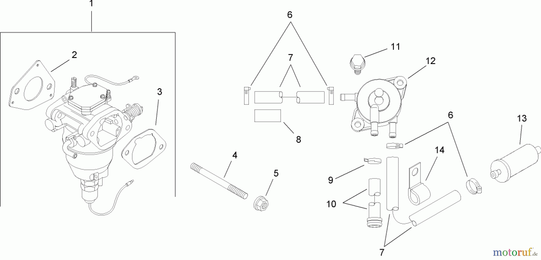
Hier finden Sie die Ersatzteilzeichnung für Toro Neu Mowers, Lawn & Garden Tractor Seite 1 13AP62RP544 (SL500) - Toro SL500 Super Lawn Tractor, 2007 (1B157H20701-) FUEL SYSTEM ASSEMBLY KOHLER SV720-0011. Wählen Sie das benötigte Ersatzteil aus der Ersatzteilliste Ihres Toro Gerätes aus und bestellen Sie einfach online. Viele Toro Ersatzteile halten wir ständig in unserem Lager für Sie bereit.


Qualitätsmanagement
Informieren Sie uns, wenn Sie einen Fehler gefunden haben.

