Toro 13AP61RH048 (LX468) - LX468 Lawn Tractor, 2008 (SN 1C108H20348-) FUEL SYSTEM ASSEMBLY KOHLER SV715-0016 Ersatzteile
FUEL SYSTEM ASSEMBLY KOHLER SV715-0016 13AP61RH048 (LX468) - Toro LX468 Lawn Tractor, 2008 (SN 1C108H20348-)

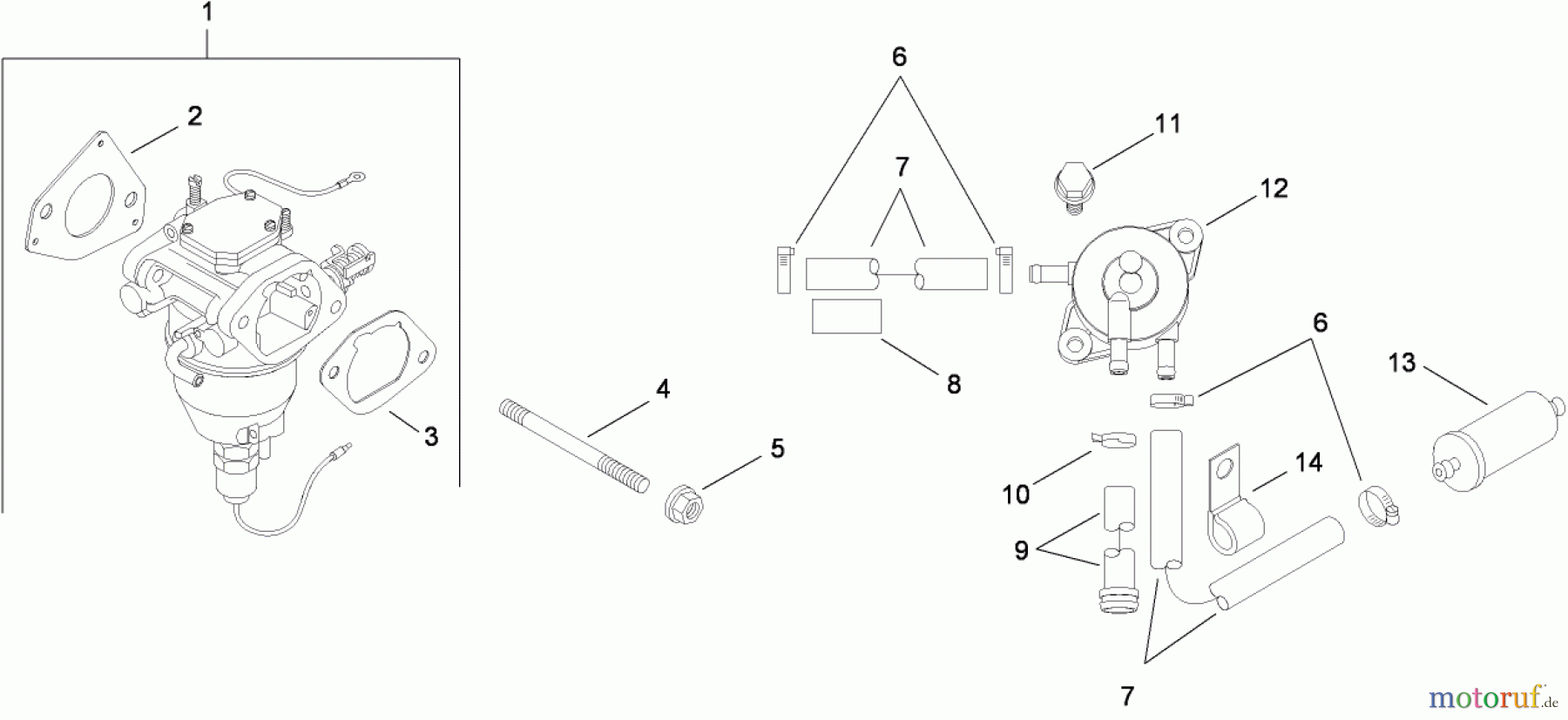
Hier finden Sie die Ersatzteilzeichnung für Toro Neu Mowers, Lawn & Garden Tractor Seite 1 13AP61RH048 (LX468) - Toro LX468 Lawn Tractor, 2008 (SN 1C108H20348-) FUEL SYSTEM ASSEMBLY KOHLER SV715-0016. Wählen Sie das benötigte Ersatzteil aus der Ersatzteilliste Ihres Toro Gerätes aus und bestellen Sie einfach online. Viele Toro Ersatzteile halten wir ständig in unserem Lager für Sie bereit.


Qualitätsmanagement
Informieren Sie uns, wenn Sie einen Fehler gefunden haben.

