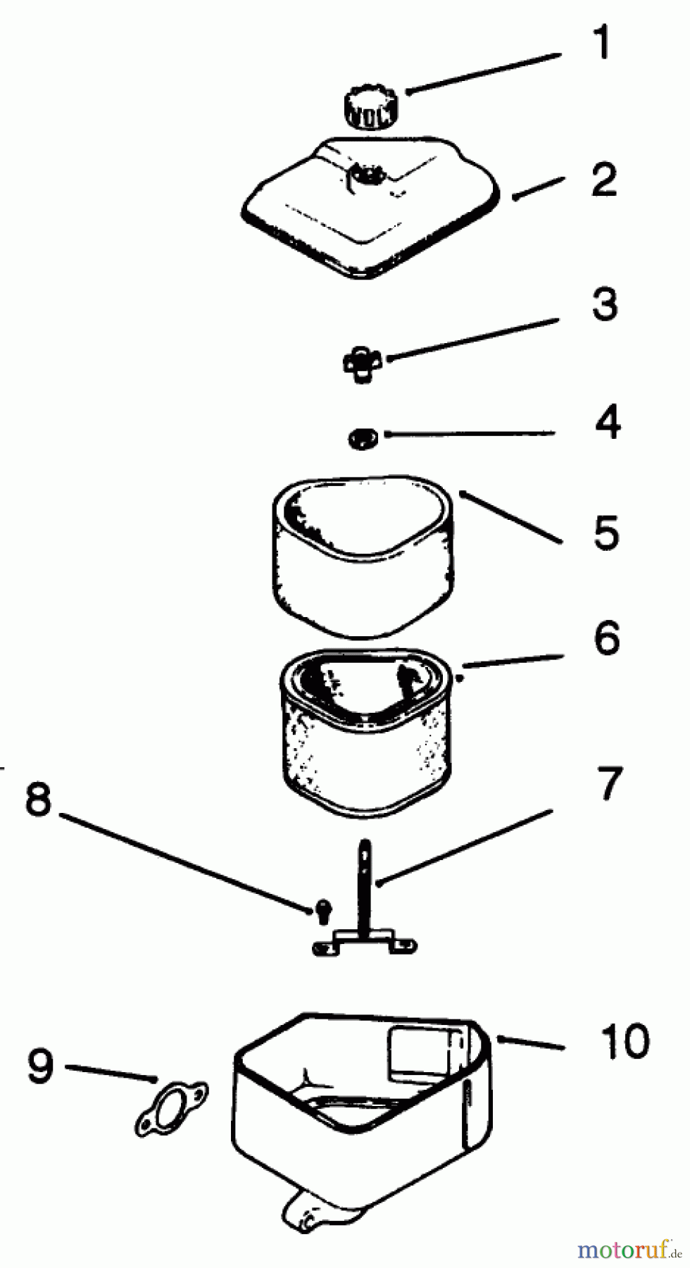
Toro 30185 - Mid-Size Proline Hydro Traction Unit, 14 hp, 1992 (20000001-29999999) AIR INTAKE/FILTRATION-ENGINE KOHLER MODEL NO. CV14 S-1429 Ersatzteile
AIR INTAKE/FILTRATION-ENGINE KOHLER MODEL NO. CV14 S-1429 30185 - Toro Mid-Size Proline Hydro Traction Unit, 14 hp, 1992 (20000001-29999999)

Hier finden Sie die Ersatzteilzeichnung für Toro Neu Mowers, Drive Unit Only 30185 - Toro Mid-Size Proline Hydro Traction Unit, 14 hp, 1992 (20000001-29999999) AIR INTAKE/FILTRATION-ENGINE KOHLER MODEL NO. CV14 S-1429. Wählen Sie das benötigte Ersatzteil aus der Ersatzteilliste Ihres Toro Gerätes aus und bestellen Sie einfach online. Viele Toro Ersatzteile halten wir ständig in unserem Lager für Sie bereit.
| BildNr | Artikel Nummer | Bezeichnung | |
| 4 | KHX-25-63-S | WASHER, FLAT 1/4" (O.D. 1/2") | |



