Toro 75-36XR02 - 36" Rear Discharge Mower, 1977 PARTS LIST FOR ROTARY MOWERS (75-36XR02,75-36MS02) Ersatzteile
PARTS LIST FOR ROTARY MOWERS (75-36XR02,75-36MS02) 75-36XR02 - Toro 36" Rear Discharge Mower, 1977

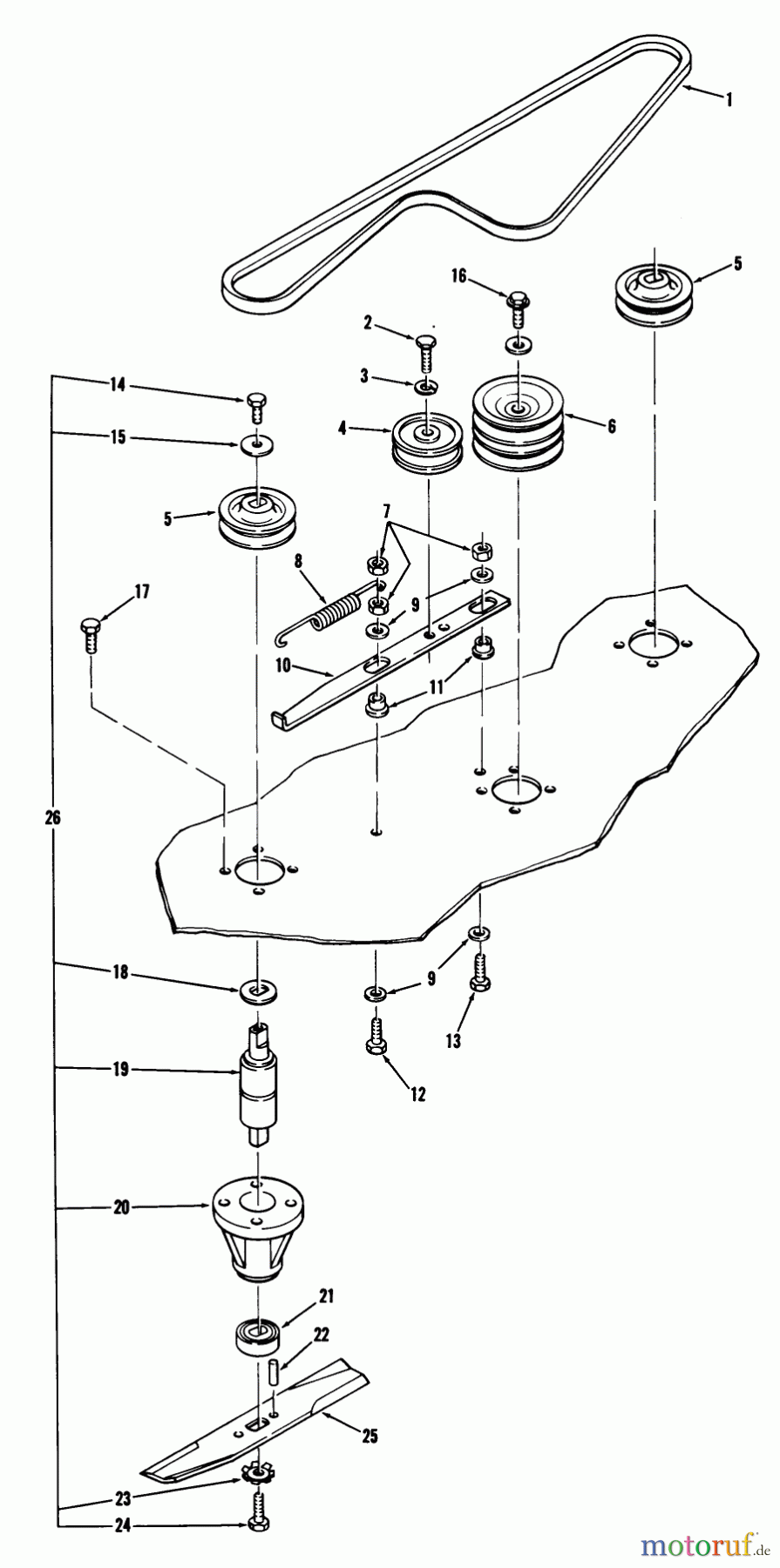
Hier finden Sie die Ersatzteilzeichnung für Toro Neu Mowers, Deck Assembly Only 75-36XR02 - Toro 36" Rear Discharge Mower, 1977 PARTS LIST FOR ROTARY MOWERS (75-36XR02,75-36MS02). Wählen Sie das benötigte Ersatzteil aus der Ersatzteilliste Ihres Toro Gerätes aus und bestellen Sie einfach online. Viele Toro Ersatzteile halten wir ständig in unserem Lager für Sie bereit.




