Toro 30152 - 52" Side Discharge Mower, 1987 (700001-799999) DRIVE SPINDLE NO. 54-7781 Ersatzteile
DRIVE SPINDLE NO. 54-7781 30152 - Toro 52" Side Discharge Mower, 1987 (700001-799999)

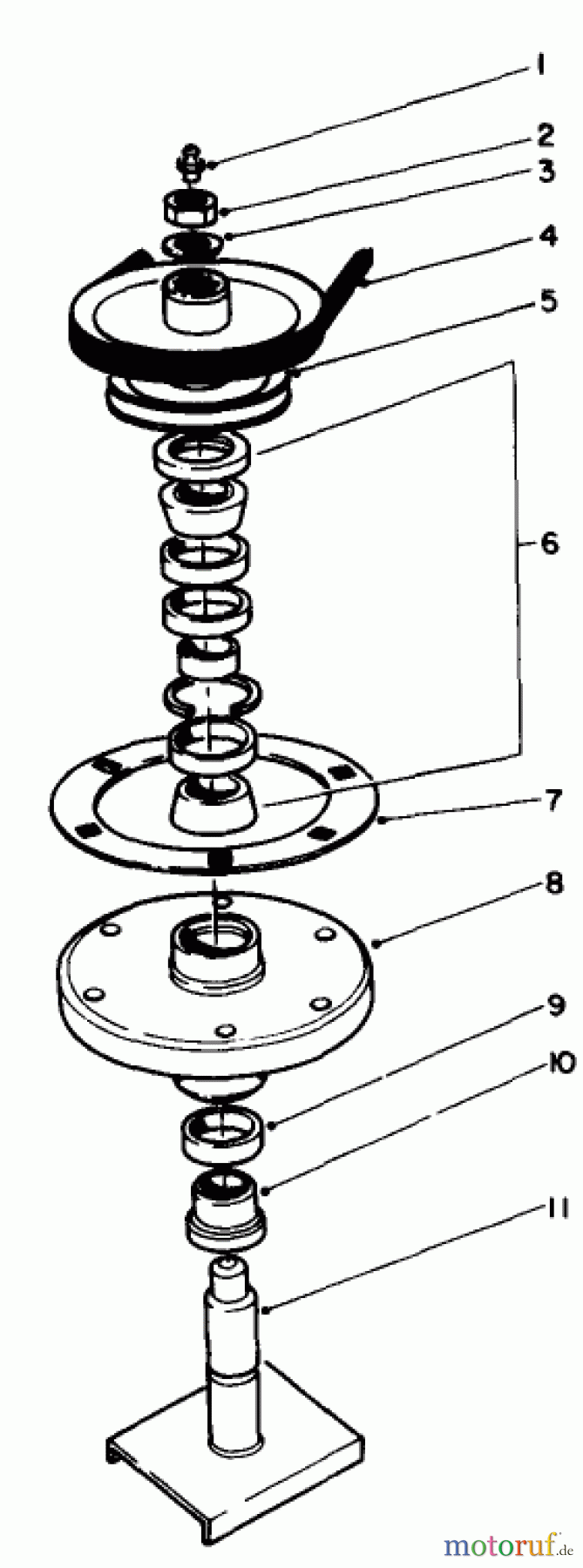
Hier finden Sie die Ersatzteilzeichnung für Toro Neu Mowers, Deck Assembly Only 30152 - Toro 52" Side Discharge Mower, 1987 (700001-799999) DRIVE SPINDLE NO. 54-7781. Wählen Sie das benötigte Ersatzteil aus der Ersatzteilliste Ihres Toro Gerätes aus und bestellen Sie einfach online. Viele Toro Ersatzteile halten wir ständig in unserem Lager für Sie bereit.
| BildNr | Artikel Nummer | Bezeichnung | |
| 1 | TR302-2 | Fettnippel | |
| 2 | TR32146-20 | Mutter | |
| 3 | TR7-4150 | WASHER | |
| 4 | TR55-7660 | Keilriemen | |
| 5 | TR55-7610 | PULLEY AND HUB ASM | |
| 6 | TR46-8530 | BEARING ASM | |
| 7 | TR27-7680-03 | Ring | |
| 8 | TR61-4160 | HOUSING-SPINDLE | |
| 9 | TR253-139 | SEAL-OIL | |
| 10 | TR27-0950 | Lagerbuechse | |
| 11 | TR105-1686 | Messerwelle | |



