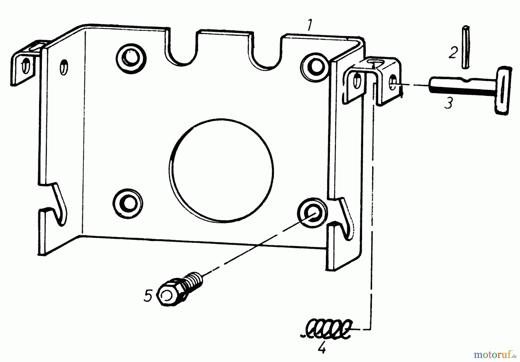
Toro 06-59BN01 - 59" Snow/Dozer Blade, 1981 PARTS LIST FOR MOUNTING PLATE (FIG. D) Ersatzteile
PARTS LIST FOR MOUNTING PLATE (FIG. D) 06-59BN01 - Toro 59" Snow/Dozer Blade, 1981

Hier finden Sie die Ersatzteilzeichnung für Toro Neu Accessories, Snow 06-59BN01 - Toro 59" Snow/Dozer Blade, 1981 PARTS LIST FOR MOUNTING PLATE (FIG. D). Wählen Sie das benötigte Ersatzteil aus der Ersatzteilliste Ihres Toro Gerätes aus und bestellen Sie einfach online. Viele Toro Ersatzteile halten wir ständig in unserem Lager für Sie bereit.
| BildNr | Artikel Nummer | Bezeichnung | |
| 1 | TR251-171 | LAGER | |
| 2 | TR251212 | DISCONTINUED | |
| 3 | TR25-1170 | 46-6040 | |
| 4 | TR251081 | DISCONTINUED | |
| 5 | TR251064 | DISCONTINUED | |



