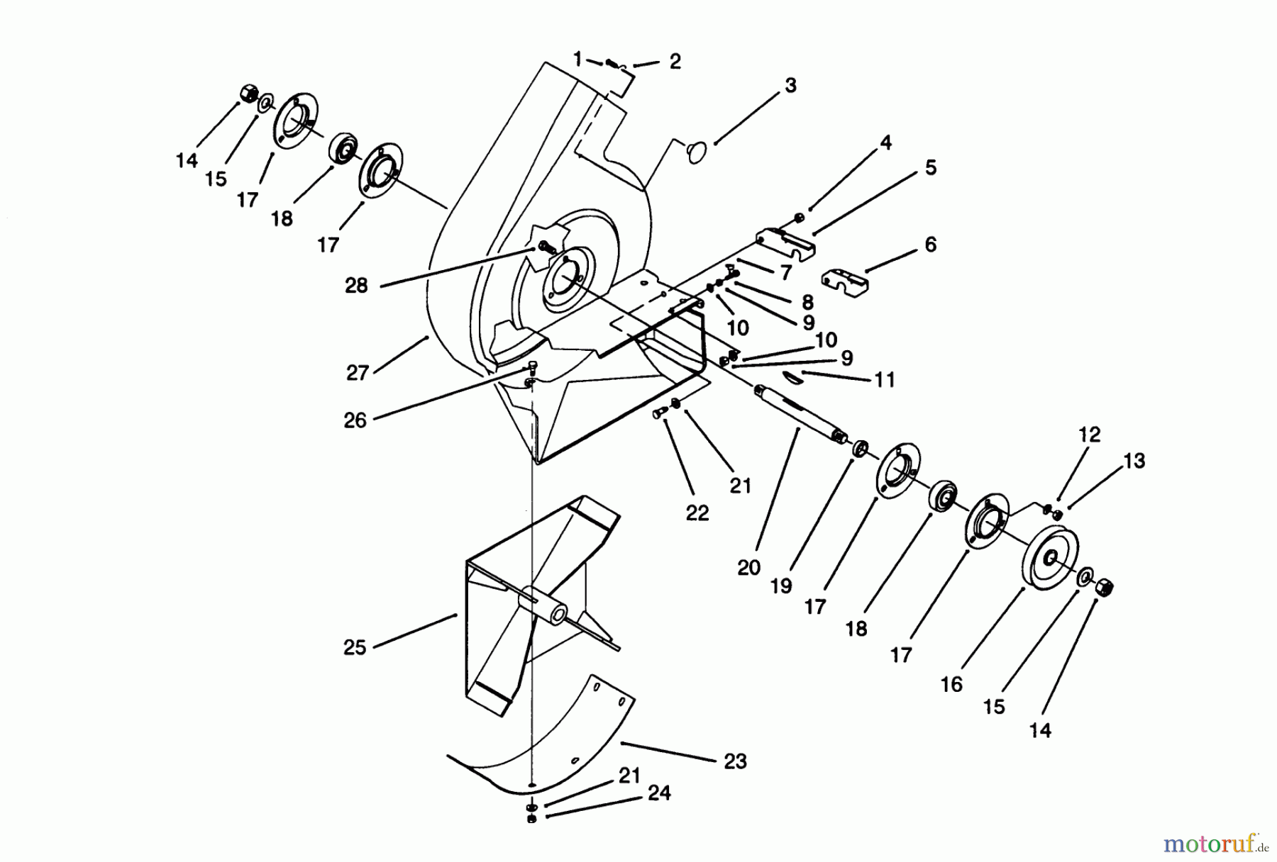
Toro 79201 - Easy Twin 42"/48" Vacuum Bagger, 1993 (39000001-39999999) HOUSING & IMPELLER ASSEMBLY Ersatzteile
HOUSING & IMPELLER ASSEMBLY 79201 - Toro Easy Twin 42"/48" Vacuum Bagger, 1993 (39000001-39999999)

Hier finden Sie die Ersatzteilzeichnung für Toro Neu Accessories, Mower 79201 - Toro Easy Twin 42"/48" Vacuum Bagger, 1993 (39000001-39999999) HOUSING & IMPELLER ASSEMBLY. Wählen Sie das benötigte Ersatzteil aus der Ersatzteilliste Ihres Toro Gerätes aus und bestellen Sie einfach online. Viele Toro Ersatzteile halten wir ständig in unserem Lager für Sie bereit.







