Toro 105-1383 - Hydrostatic Transaxle Replacement Kit, 260 Series Yard and Garden Tractors BYPASS SHAFT AND BLOCK ASSEMBLY Ersatzteile
BYPASS SHAFT AND BLOCK ASSEMBLY 105-1383 - Toro Hydrostatic Transaxle Replacement Kit, 260 Series Yard and Garden Tractors

Hier finden Sie die Ersatzteilzeichnung für Toro Neu Accessories, Mower 105-1383 - Toro Hydrostatic Transaxle Replacement Kit, 260 Series Yard and Garden Tractors BYPASS SHAFT AND BLOCK ASSEMBLY. Wählen Sie das benötigte Ersatzteil aus der Ersatzteilliste Ihres Toro Gerätes aus und bestellen Sie einfach online. Viele Toro Ersatzteile halten wir ständig in unserem Lager für Sie bereit.
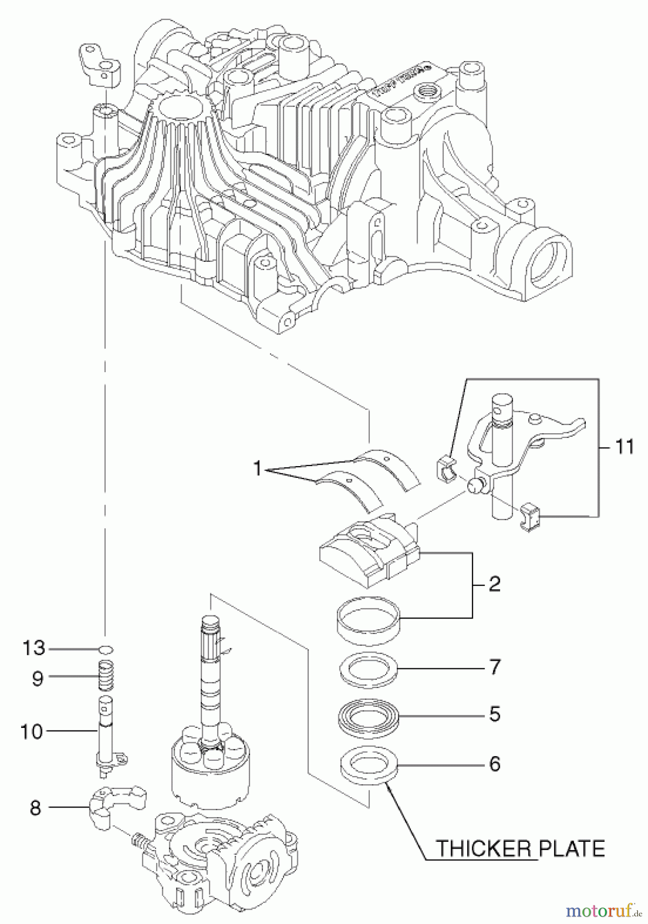
| BildNr | Artikel Nummer | Bezeichnung | |
| 1 | TR93-0388 | LAGERPLATTE | |
| 2 | TR93-0389 | PLATE-SWASH | |
| 5 | TR93-0392 | BEARING | |
| 6 | TR105-1370 | PLATE-THRUST | |
| 7 | TR93-0394 | PLATE-THRUST | |
| 8 | TR93-0395 | Schaltarm | |
| 9 | TR93-0396 | SPRING | |
| 10 | TR93-0397 | Welle | |
| 11 | TR93-0398 | Schaltschwinge | |
| 13 | TR93-0400 | Dichtung | |



