Toro 104-5053 - Rear Wheel Hub Kit, 5xi Garden Tractors WHEEL HUB ASSEMBLY Ersatzteile
WHEEL HUB ASSEMBLY 104-5053 - Toro Rear Wheel Hub Kit, 5xi Garden Tractors

Hier finden Sie die Ersatzteilzeichnung für Toro Neu Accessories, Mower 104-5053 - Toro Rear Wheel Hub Kit, 5xi Garden Tractors WHEEL HUB ASSEMBLY. Wählen Sie das benötigte Ersatzteil aus der Ersatzteilliste Ihres Toro Gerätes aus und bestellen Sie einfach online. Viele Toro Ersatzteile halten wir ständig in unserem Lager für Sie bereit.
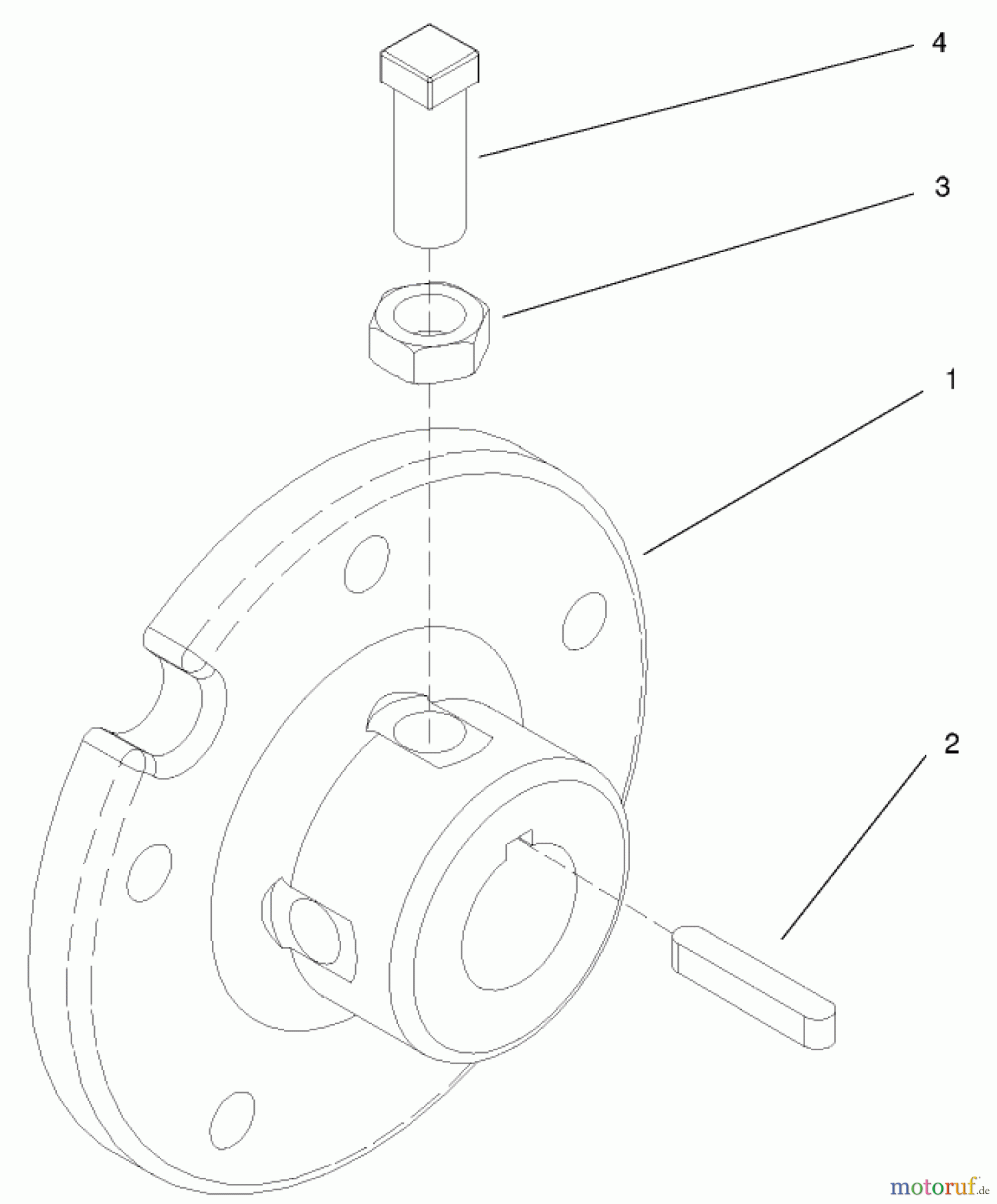
| BildNr | Artikel Nummer | Bezeichnung | |
| 1 | TR104-5080-03 | HUB-WHEEL | |
| 2 | TR104-2482 | KEY-SQUARE | |
| 3 | TR3218-5 | Mutter | |
| 4 | TR3244-14 | SCREW-SET, SQH | |


