Zerto-Turn Mäher PULLY ASSEMBLY NO. 110-1592 Ersatzteile
PULLY ASSEMBLY NO. 110-1592 74280TE (Z597-D) - Toro Z Master Mower, 62 Rear Discharge Deck (SN: 270000001 - 270999999) (2007)

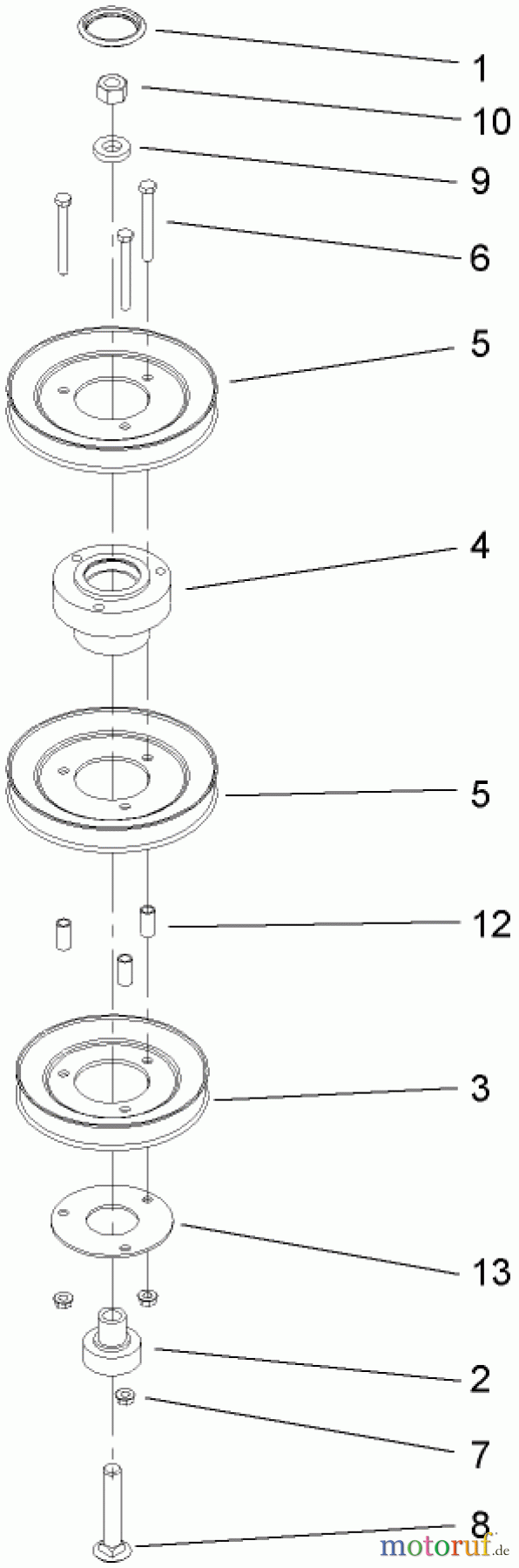
Hier finden Sie die Ersatzteilzeichnung für Zerto-Turn Mäher 74280TE (Z597-D) - Toro Z Master Mower, 62 Rear Discharge Deck (SN: 270000001 - 270999999) (2007) PULLY ASSEMBLY NO. 110-1592. Wählen Sie das benötigte Ersatzteil aus der Ersatzteilliste Ihres Zerto-Turn Mäher Gerätes aus und bestellen Sie einfach online. Viele Zerto-Turn Mäher Ersatzteile halten wir ständig in unserem Lager für Sie bereit.


Qualitätsmanagement
Informieren Sie uns, wenn Sie einen Fehler gefunden haben.


