Zerto-Turn Mäher BRAKE AND WHEEL HUB ASSEMBLY Ersatzteile
BRAKE AND WHEEL HUB ASSEMBLY 74211 (Z252L) - Toro Z Master Mower, 52" SFS Side Discharge Deck (SN: 200000001 - 200999999) (2000)

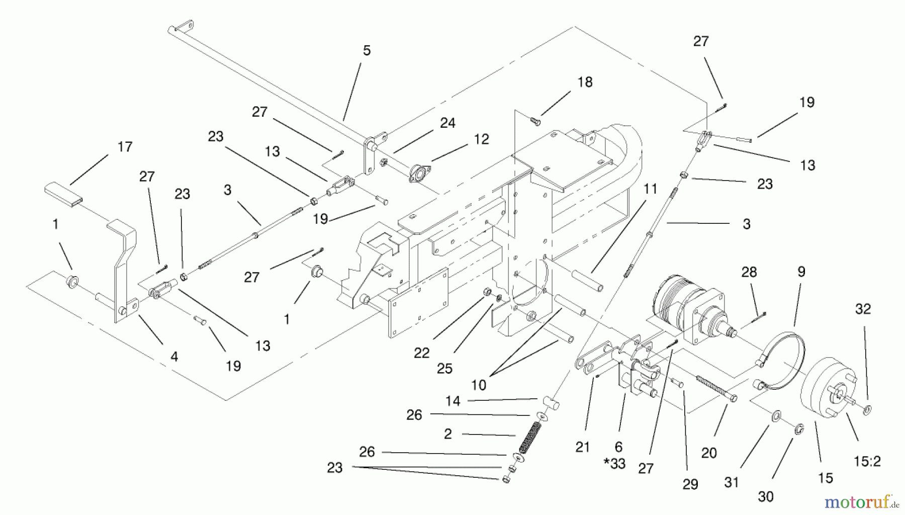
Hier finden Sie die Ersatzteilzeichnung für Zerto-Turn Mäher 74211 (Z252L) - Toro Z Master Mower, 52" SFS Side Discharge Deck (SN: 200000001 - 200999999) (2000) BRAKE AND WHEEL HUB ASSEMBLY. Wählen Sie das benötigte Ersatzteil aus der Ersatzteilliste Ihres Zerto-Turn Mäher Gerätes aus und bestellen Sie einfach online. Viele Zerto-Turn Mäher Ersatzteile halten wir ständig in unserem Lager für Sie bereit.


Qualitätsmanagement
Informieren Sie uns, wenn Sie einen Fehler gefunden haben.

