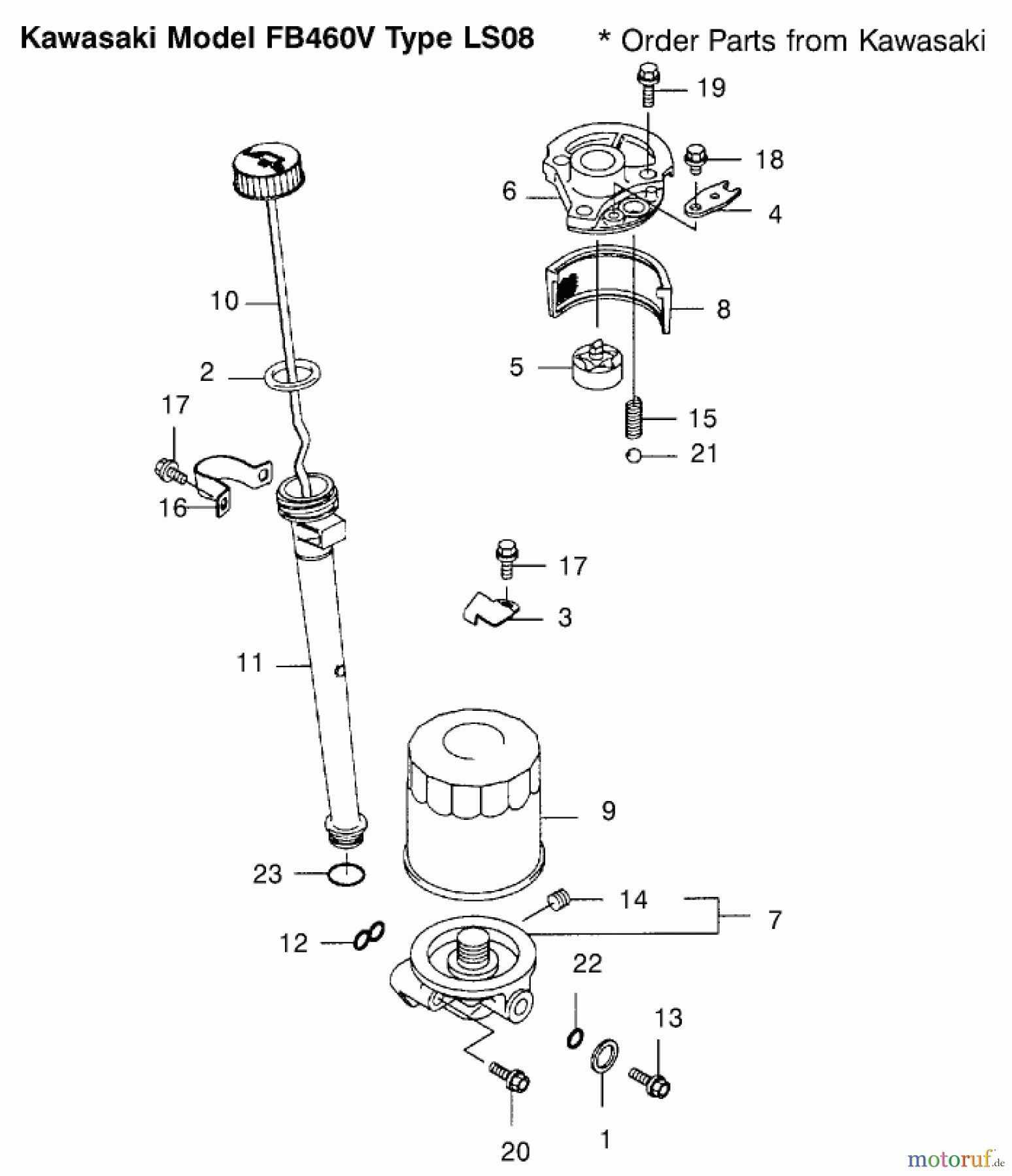
Rasenmäher Antrieb LUBRICATION EQUIPMENT Ersatzteile
LUBRICATION EQUIPMENT 30165 - Toro Mid-Size ProLine Traction Unit, Gear Drive, 12.5 hp (SN: 200000001 - 200999999) (2000)

Hier finden Sie die Ersatzteilzeichnung für Rasenmäher Antrieb 30165 - Toro Mid-Size ProLine Traction Unit, Gear Drive, 12.5 hp (SN: 200000001 - 200999999) (2000) LUBRICATION EQUIPMENT. Wählen Sie das benötigte Ersatzteil aus der Ersatzteilliste Ihres Rasenmäher Antrieb Gerätes aus und bestellen Sie einfach online. Viele Rasenmäher Antrieb Ersatzteile halten wir ständig in unserem Lager für Sie bereit.





