Concrete & Masonry Equipment DRUM ASSEMBLY Ersatzteile
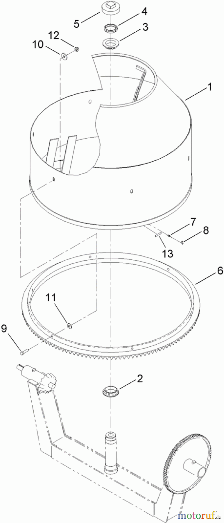
DRUM ASSEMBLY 68011C (CM-1258Y-SD) - Toro Concrete Mixer (SN: 313000001 - 313999999) (2013)

Hier finden Sie die Ersatzteilzeichnung für Concrete & Masonry Equipment 68011C (CM-1258Y-SD) - Toro Concrete Mixer (SN: 313000001 - 313999999) (2013) DRUM ASSEMBLY. Wählen Sie das benötigte Ersatzteil aus der Ersatzteilliste Ihres Concrete & Masonry Equipment Gerätes aus und bestellen Sie einfach online. Viele Concrete & Masonry Equipment Ersatzteile halten wir ständig in unserem Lager für Sie bereit.



