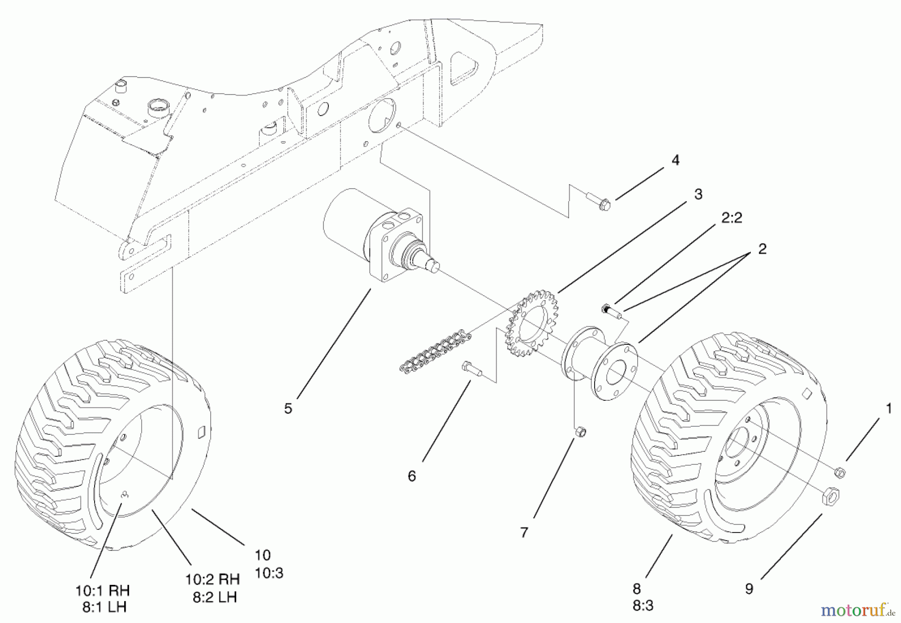
Compact Utility Loaders REAR WHEEL ASSEMBLY Ersatzteile
REAR WHEEL ASSEMBLY 22317 - Toro Dingo 220 Compact Utility Loader (SN: 250000001 - 250000300) (2005)

Hier finden Sie die Ersatzteilzeichnung für Compact Utility Loaders 22317 - Toro Dingo 220 Compact Utility Loader (SN: 250000001 - 250000300) (2005) REAR WHEEL ASSEMBLY. Wählen Sie das benötigte Ersatzteil aus der Ersatzteilliste Ihres Compact Utility Loaders Gerätes aus und bestellen Sie einfach online. Viele Compact Utility Loaders Ersatzteile halten wir ständig in unserem Lager für Sie bereit.
| BildNr | Artikel Nummer | Bezeichnung | |
| 1 | TR242-50 | Mutter | |
| 2 | TR100-9990 | REAR HUB ASM | |
| 2:2 | TR10-6830 | Bolzen | |
| 3 | TR98-9937 | Kettenrad-25 | |
| 4 | TR3234-27 | SCREW-HHF | |
| 5 | TR99-3052 | HYD MOTOR ASM | |
| 6 | TR325-7 | Schraube | |
| 7 | TR3296-23 | Mutter | |
| 8 | TR98-2747 | Rad Kpl.Links | |
| 8:1 | TR5108 | VENTIL | |
| 8:2 | TR98-2748 | WHEEL | |
| 8:3 | TR98-2749 | Reifen | |
| 9 | TR106-8159 | NUT-LOCK | |
| 10 | TR99-1447 | Rad Kpl.Rechts | |
| 10:1 | TR232-27 | Ventil | |
| 10:2 | TR98-2748 | WHEEL | |
| 10:3 | TR98-2749 | Reifen | |


Qualitätsmanagement
Informieren Sie uns, wenn Sie einen Fehler gefunden haben.

