Tanaka TPH-210 - Articulating Hedgetrimmer Attachment Blades, Cutter Guide, Blade Hardware Ersatzteile
Blades, Cutter Guide, Blade Hardware TPH-210 - Tanaka Articulating Hedgetrimmer Attachment

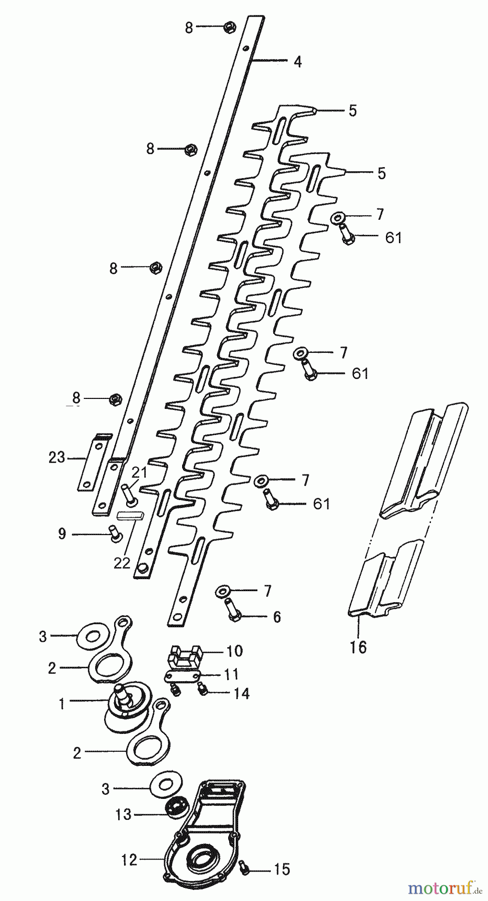
Hier finden Sie die Ersatzteilzeichnung für Tanaka Zubehör TPH-210 - Tanaka Articulating Hedgetrimmer Attachment Blades, Cutter Guide, Blade Hardware. Wählen Sie das benötigte Ersatzteil aus der Ersatzteilliste Ihres Tanaka Gerätes aus und bestellen Sie einfach online. Viele Tanaka Ersatzteile halten wir ständig in unserem Lager für Sie bereit.


Qualitätsmanagement
Informieren Sie uns, wenn Sie einen Fehler gefunden haben.









