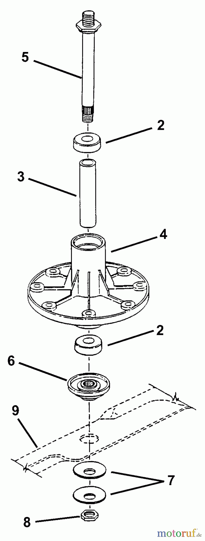
Snapper HZS14381BVE - 38" Zero-Turn Mower, 14 HP, ZTR Yard Cruiser, Series 1 Spindle Assembly Ersatzteile
Spindle Assembly HZS14381BVE - Snapper 38" Zero-Turn Mower, 14 HP, ZTR Yard Cruiser, Series 1

Hier finden Sie die Ersatzteilzeichnung für Snapper Nullwendekreismäher, Zero-Turn HZS14381BVE - Snapper 38" Zero-Turn Mower, 14 HP, ZTR Yard Cruiser, Series 1 Spindle Assembly. Wählen Sie das benötigte Ersatzteil aus der Ersatzteilliste Ihres Snapper Gerätes aus und bestellen Sie einfach online. Viele Snapper Ersatzteile halten wir ständig in unserem Lager für Sie bereit.


Qualitätsmanagement
Informieren Sie uns, wenn Sie einen Fehler gefunden haben.


