Snapper SFH13320KW (5091002) - 32" 13 HP, Hydro Drive, Commercial Lawn & Turf Series 0 Fuel Supply Hose & Tank Replacement Parts Group Ersatzteile
Fuel Supply Hose & Tank Replacement Parts Group SFH13320KW (5091002) - Snapper 32" 13 HP, Hydro Drive, Commercial Lawn & Turf Series 0

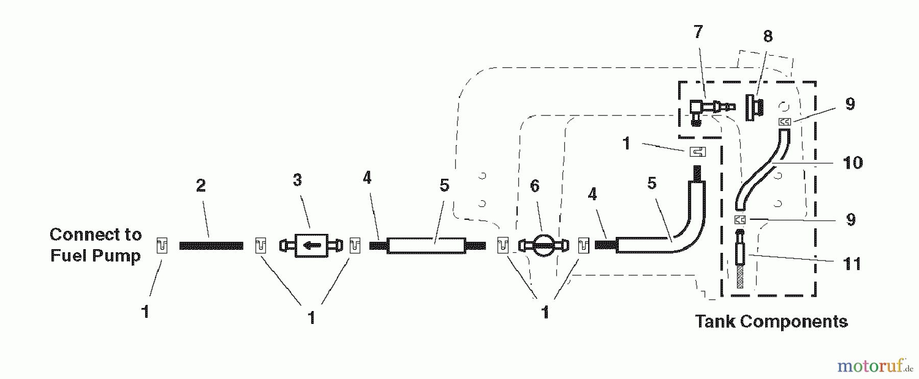
Hier finden Sie die Ersatzteilzeichnung für Snapper Rasenmäher für Großflächen SFH13320KW (5091002) - Snapper 32" 13 HP, Hydro Drive, Commercial Lawn & Turf Series 0 Fuel Supply Hose & Tank Replacement Parts Group. Wählen Sie das benötigte Ersatzteil aus der Ersatzteilliste Ihres Snapper Gerätes aus und bestellen Sie einfach online. Viele Snapper Ersatzteile halten wir ständig in unserem Lager für Sie bereit.
| BildNr | Artikel Nummer | Bezeichnung | |
| 1 | BS5020835SM | SCHLAUCHKLEMME | |
| 2 | BS5050831X7 | ||
| 3 | BS21178-3 | ||
| 4 | BS5050831X19P5 | ||
| 5 | BS5050833X18 | ||
| 6 | BS5021235SM | ||
| 7 | BS5023061SM | FITTING, ELBOW | |
| 8 | BS1654930SM | VENTILDECKEL | |
| 9 | BS5023069SM | CLAMP, HOSE INTERNAL, | |
| 10 | BS5101217SM | FUEL HOSE ASSY - 20" | |
| 11 | BS5023067SM | FITTING, SCREEN | |



