Snapper 7063151 - Utility Vehicle Sunshade Grounds Cruiser Sun Shade Kit Ersatzteile
Grounds Cruiser Sun Shade Kit 7063151 - Snapper Utility Vehicle Sunshade

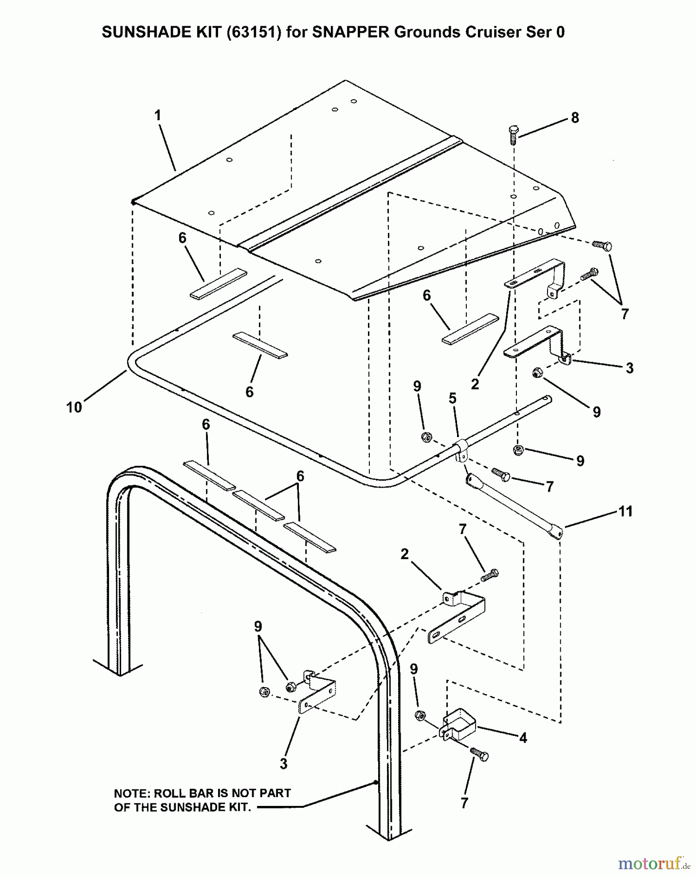
Hier finden Sie die Ersatzteilzeichnung für Snapper Zubehör, Utility Vehicle 7063151 - Snapper Utility Vehicle Sunshade Grounds Cruiser Sun Shade Kit. Wählen Sie das benötigte Ersatzteil aus der Ersatzteilliste Ihres Snapper Gerätes aus und bestellen Sie einfach online. Viele Snapper Ersatzteile halten wir ständig in unserem Lager für Sie bereit.


Qualitätsmanagement
Informieren Sie uns, wenn Sie einen Fehler gefunden haben.

