Snapper 1696093 - 42" Grass Mulcher Kit Mulching Kit Ersatzteile
Mulching Kit 1696093 - Snapper 42" Grass Mulcher Kit

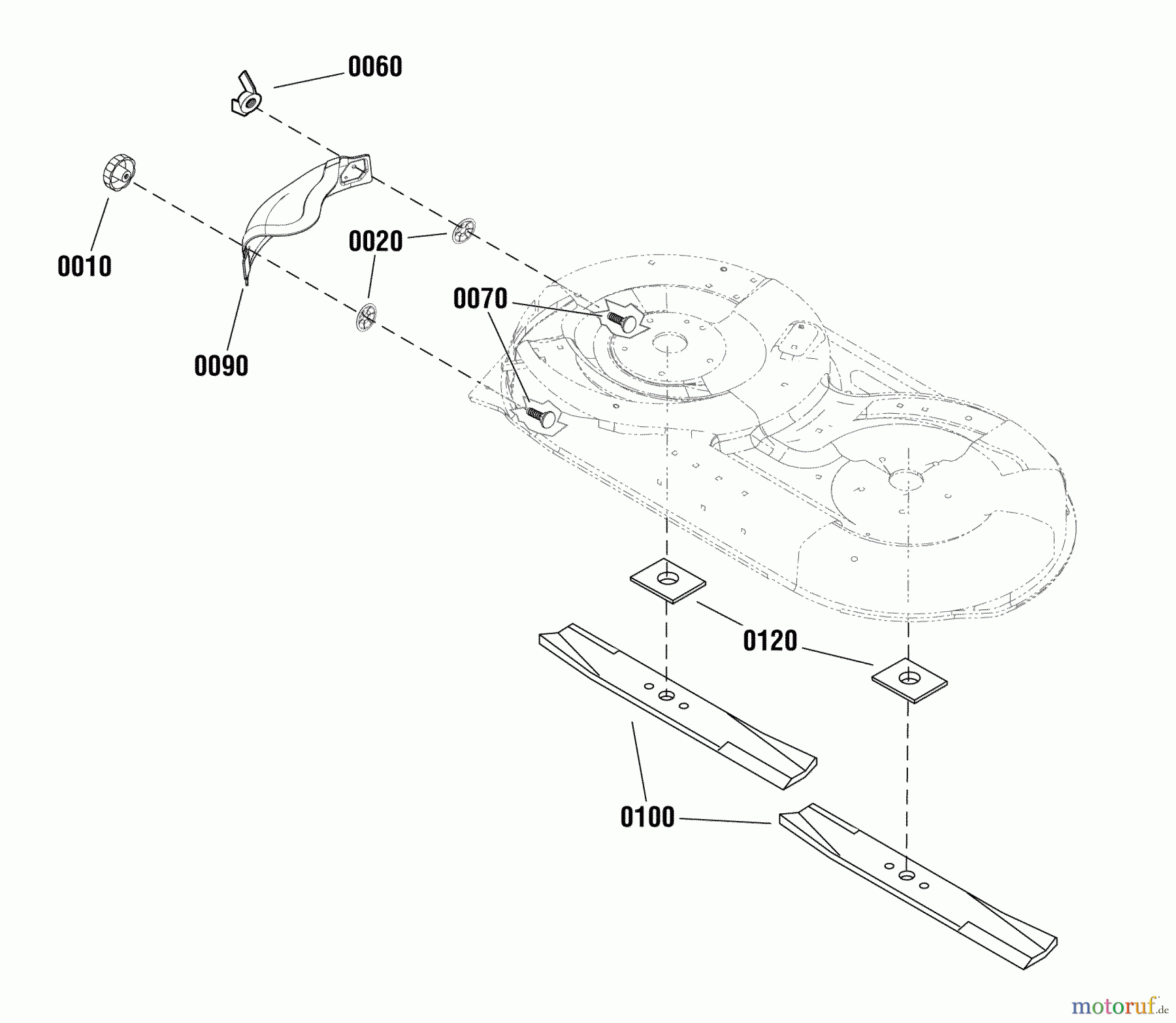
Hier finden Sie die Ersatzteilzeichnung für Snapper Zubehör. Rasenmäher 1696093 - Snapper 42" Grass Mulcher Kit Mulching Kit. Wählen Sie das benötigte Ersatzteil aus der Ersatzteilliste Ihres Snapper Gerätes aus und bestellen Sie einfach online. Viele Snapper Ersatzteile halten wir ständig in unserem Lager für Sie bereit.
| BildNr | Artikel Nummer | Bezeichnung | |
| 0010 | BS1733098SM | KNOB-INT THR .312-18 | |
| 0020 | BS703297 | RETAINER, GR5, 5/16 | |
| 0060 | BS703141 | MUTTER | |
| 0070 | ![]() | BS703185 | RHSSNB |
| 0090 | BS095080E701MA | COVER/MULCH 38/40/42 | |
| 0100 | BS1752822BZYP | BLADE, MOWER - 42" 3- | |
| 0120 | BS1754765BMYP | WASHER | |




