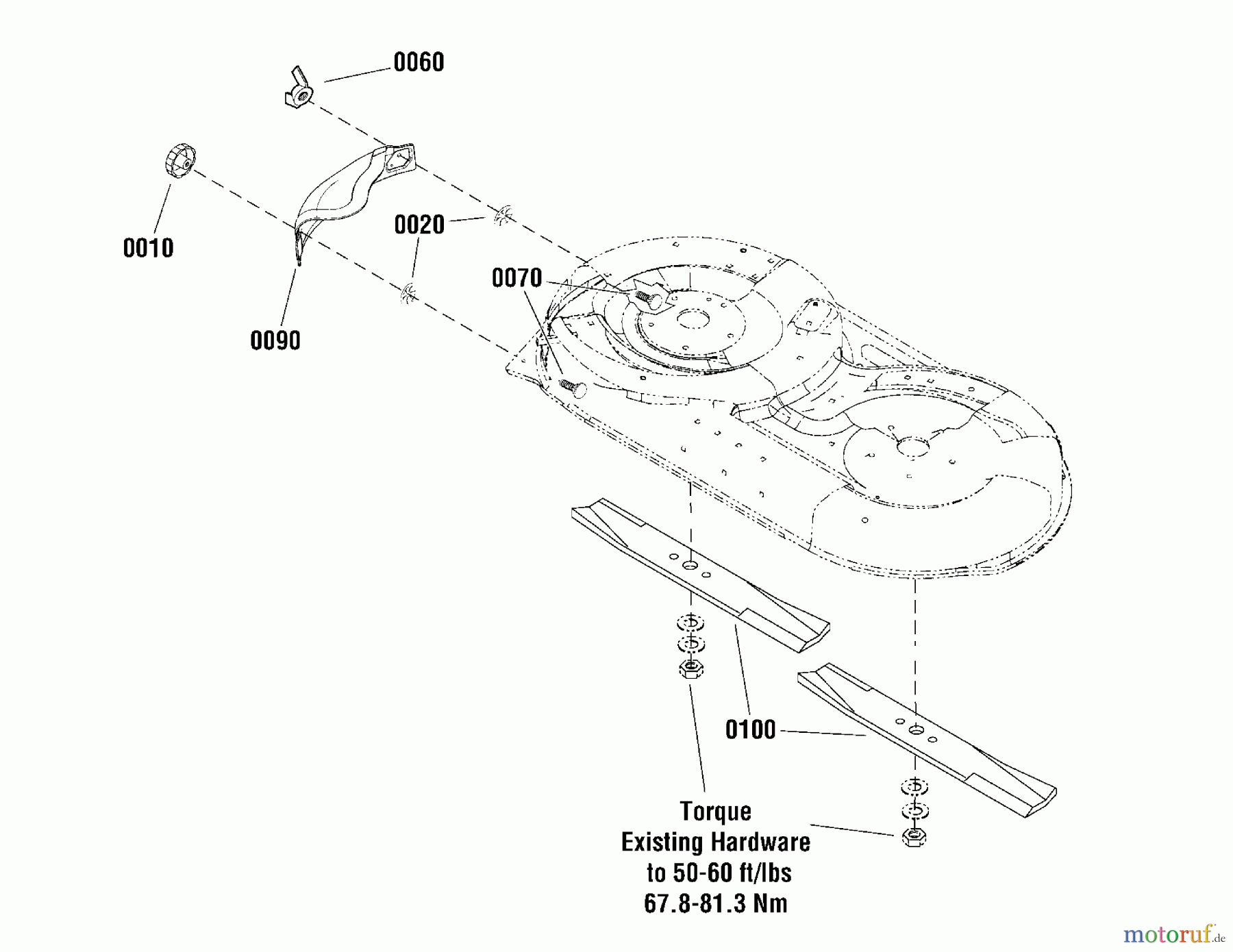
Snapper 1694955 - 38" Grass Mulcher Kit Mulcher Kit Ersatzteile
Mulcher Kit 1694955 - Snapper 38" Grass Mulcher Kit

Hier finden Sie die Ersatzteilzeichnung für Snapper Zubehör. Rasenmäher 1694955 - Snapper 38" Grass Mulcher Kit Mulcher Kit. Wählen Sie das benötigte Ersatzteil aus der Ersatzteilliste Ihres Snapper Gerätes aus und bestellen Sie einfach online. Viele Snapper Ersatzteile halten wir ständig in unserem Lager für Sie bereit.
| BildNr | Artikel Nummer | Bezeichnung | |
| 10 | BS1733098SM | KNOB-INT THR .312-18 | |
| 20 | BS703297 | RETAINER, GR5, 5/16 | |
| 60 | BS703141 | MUTTER | |
| 70 | ![]() | BS703185 | RHSSNB |
| 90 | BS095080E701MA | COVER/MULCH 38/40/42 | |
| 100 | BS1732373ASM | BLADE-MOWER 19.30 .1 | |




